EasyManua.ls Logo

GE Multilin EPM 2200 - Page 44

GE Multilin EPM 2200
116 pages
To Next Page IconTo Next Page
To Next Page IconTo Next Page
To Previous Page IconTo Previous Page
To Previous Page IconTo Previous Page
Loading...
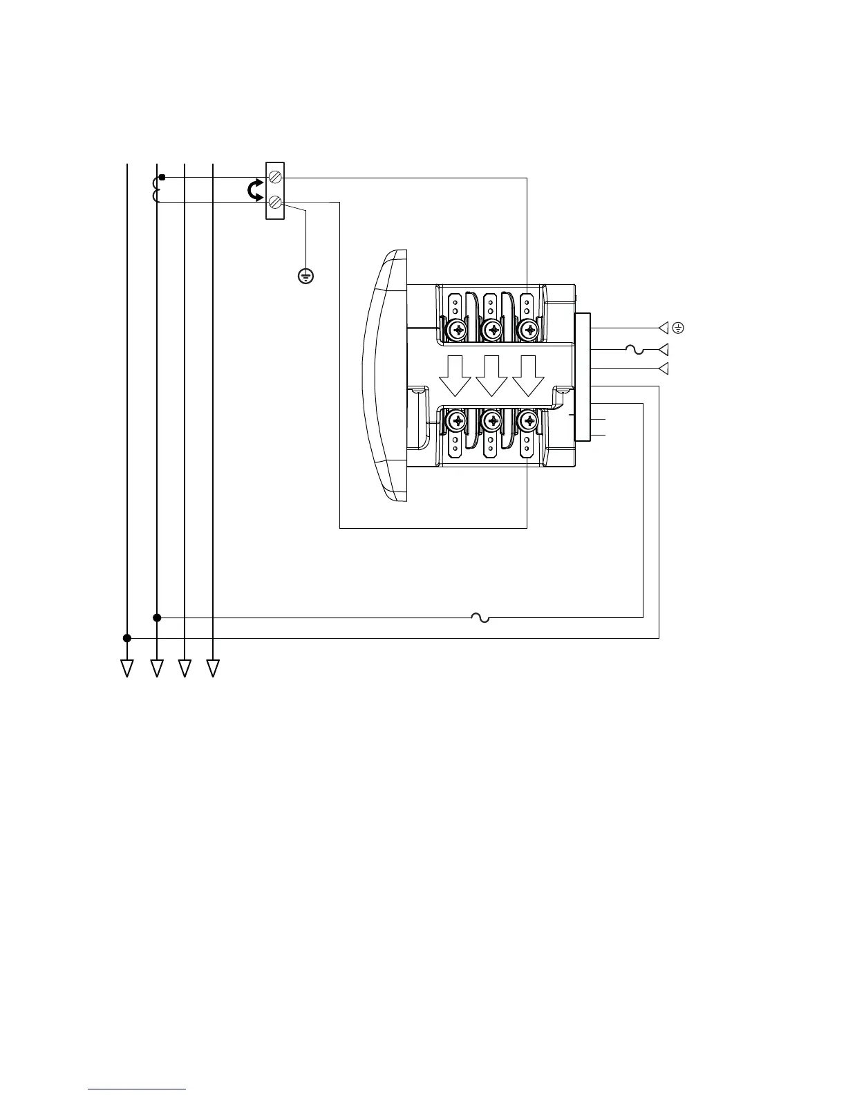
4–10 EPM 2200 POWER METER – INSTRUCTION MANUAL
ELECTRICAL CONNECTION DIAGRAMS CHAPTER 4: ELECTRICAL INSTALLATION
Figure 4-7: (1b) Single Phase Hookup
lc
HI
LO
lb
HI
LO
la
HI
LO
Earth Ground
x
L(+)
Power
Supply
Connection
N(-)
L(+)
GND
N(-)
Vref
Va
Vb
Vc
LINE
LOAD
CT
Shorting
Block
x
FUSE
0.1A
FUSE
3A
C
C
B
B
A
A
N
N

Table of Contents

Related product manuals