EasyManua.ls Logo

General Monitors 4802A - Sensor Connections; Figure 29 - Open Collector External Circuits; Figure 30 - Terminal Designations for Sensor Wires

Default Icon
75 pages
Print Icon
To Next Page IconTo Next Page
To Next Page IconTo Next Page
To Previous Page IconTo Previous Page
To Previous Page IconTo Previous Page
Loading...
Model 4802A
8
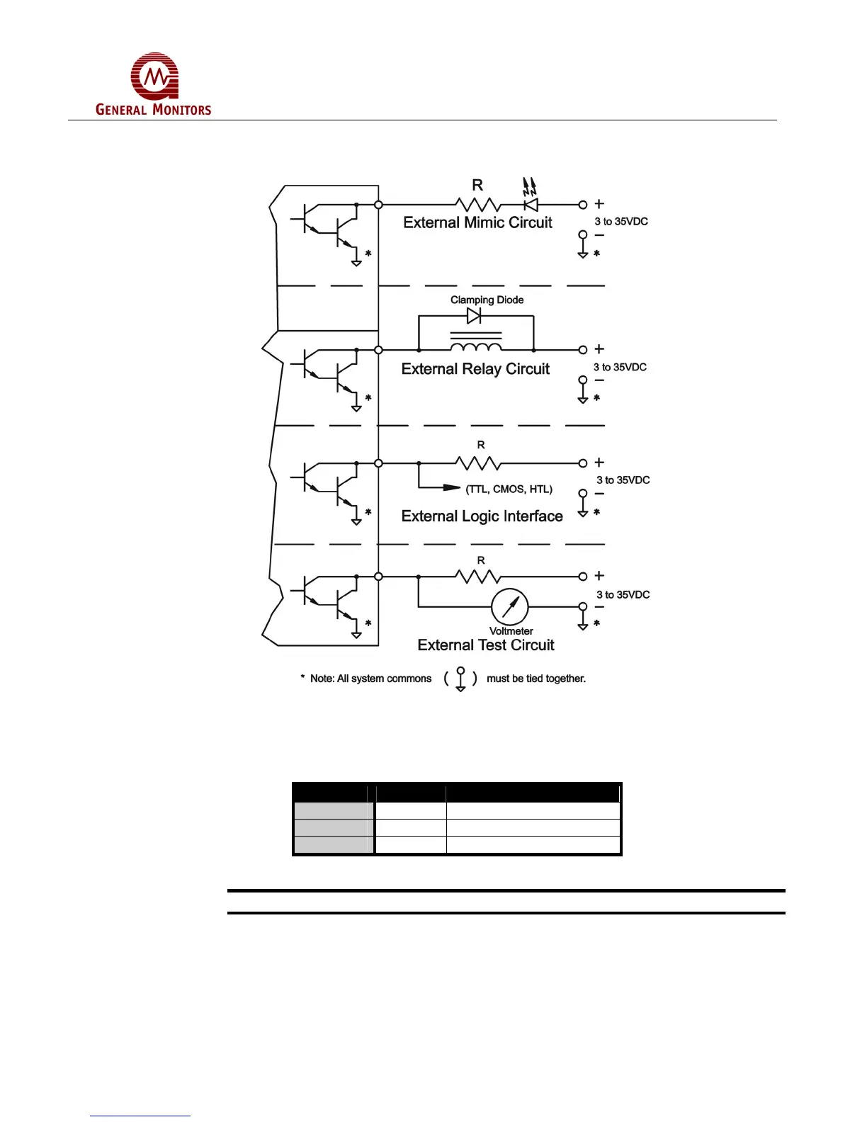
Figure 29 illustrates some typical open collector external circuits.
Figure 29 – Open Collector External Circuits
3.3.5 Sensor Connections
The terminal designations for the Sensor wires are:
Label Term Description
BLK 26d,z Black Sensor Wire
RED 28d,z Red Sensor Wire
WHT 30d,z White Sensor Wire
Figure 30 - Terminal Designations for Sensor Wires
NOTE - Only 1 sensor may be connected to a Model 4802A.

Table of Contents

Related product manuals