EasyManua.ls Logo

Handiquilter ProStitcher Lite - Align the Tracks to the Carriage

Handiquilter ProStitcher Lite
53 pages
Print Icon
To Next Page IconTo Next Page
To Next Page IconTo Next Page
To Previous Page IconTo Previous Page
To Previous Page IconTo Previous Page
Loading...
24 | Pro‑Stcher Lite for the HQ Simply Sixteen www.ProStcher.com
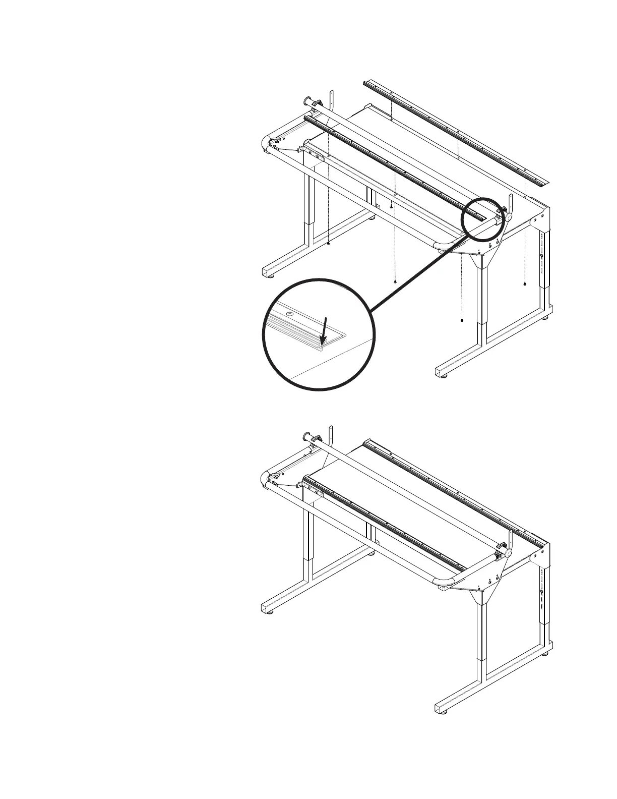
Align the Tracks to the Carriage
1. Place the four‑wheel carriage on the
tracks. Ensure the distance between
the front and rear tracks is correct
and consistent for the wheels. Move
the carriage along the track and slide
the tracks closer or further apart as
needed.
2. Once you have conrmed the tracks
t into the carriage wheels, leave
the carriage on the tracks, push
the carriage and tracks as far to the
back as possible, align the back track
straight across the rear of the frame,
and fully ghten the back track
screws.
3. Roll the carriage to one end and
ensure the tracks are aligned the
correct distance apart and fully
ghten the front screws.
4. Repeat this process for the center and
end screws at the front.
NOTE: All screws should now be
ghtened, and the machine should
roll freely down the track without
any resistance. If not, adjust the
distance between the tracks unl
the carriage rides freely along the
track.
 IMPORTANT: A coarse adjustment
is made with the large ange
head screws from the underside
of the table. A ne adjustment is
made with the socketed at head
screws on top with the 2.5mm hex
wrench. (See page 26 for more
informaon.)
lip toward
front