EasyManua.ls Logo

Harris FlexStar - Page 45

Default Icon
106 pages
Print Icon
To Next Page IconTo Next Page
To Next Page IconTo Next Page
To Previous Page IconTo Previous Page
To Previous Page IconTo Previous Page
Loading...
4/18/11 888-2587-001 2-17
WARNING: Disconnect primary power prior to servicing.
Section 2 Installation & Initial Turn-On
FM HD Radio System
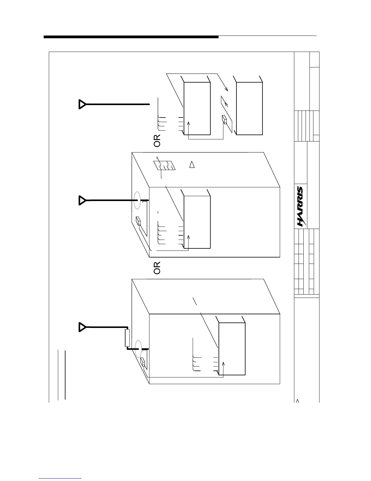
Figure 2-2 Low Level amplification with FlexStar
817-2329-001
B
SYSTEM CONFIGURATION,
-
11
B . 11-7-06
BAK BAK
ADDED HT-HD+ AND ZX TRANSMITTERS.
.
NEWDWG
.
..
.A
B. KLESNER
1-28-06
B. KLESNER
B. KLESNER
B. OLSON
P34701
A
REV
DATE
TITLE
OF
SHEET
BY
DRAWN
CHK
ENG
ENG
PROJ
ENG
MFG
NO.
DWG
HARRIS CORPORATION
BROADCAST COMMUNICATIONS
P.O. BOX 4290
QUINCY, ILLINOIS 62305
THIS DOCUMENT CONTAINS PROPRIETARY DATA OF HARRIS
CORPORATION. NO DISCLOSURE, REPRODUCTION, OR USE OF ANY
PART THEREOF MAY BE MADE EXCEPT BY WRITTEN PERMISSION.
DATEZONELTR ENG ECO NBRDFTM
S
I
V
E
R
I
O
N
FLEXSTAR EXCITER
RTAC SAMPLE
MUTE
FAULT
SAMPLE
APC
TX CNTRL
LOW-LEVEL ZHD+
CONFIGURATION
Single Flexstar
Exciter
FM + HD
RF OUTPUT
ZHD+ TRANSMITTER
F
M
+
H
D
R
F
O
U
T
C
O
N
FI
G
U
RA
TI
O
N
#
1
&
#
2
5
RF SAMPLE
MODE
EXCITER
SWITCH
BOARD
NOT USED IN Z4, Z6, OR Z8. RF OUTPUT ROUTES
DIRECTLY TO A23 3DB PADS.
1
W148
W3
W1
FLEXSTAR EXCITER
RTAC SAMPLE
MUTE
FAULT
SAMPLE
APC
TX CNTRL
FM + HD
RF OUTPUT
F
M
+
H
D
R
F
O
U
T
RF SAMPLE
TO IPA
THROUGH
FLEXPATCH
209
HT-HD+ TRANSMITTER
FLEXSTAR EXCITER
MUTE
FAULT
APC
MODE
TX CNTRL
RF SAMPLE
ZX
TRANSMITTER
RTAC SAMPLE
FM + HD
RF OUTPUT
F
M
+
H
D
R
F
O
U
T
HT-HD+, ZHD+, ZX, CONFIG #1 & #25
TM

Table of Contents

Related product manuals