EasyManua.ls Logo

HERO GLAMOUR PROGRAMMED FI - FRONT WHEEL REMOVAL (Disc Type); Procedure for Front Wheel Removal (Disc)

HERO GLAMOUR PROGRAMMED FI
72 pages
Print Icon
To Next Page IconTo Next Page
To Next Page IconTo Next Page
To Previous Page IconTo Previous Page
To Previous Page IconTo Previous Page
Loading...
56
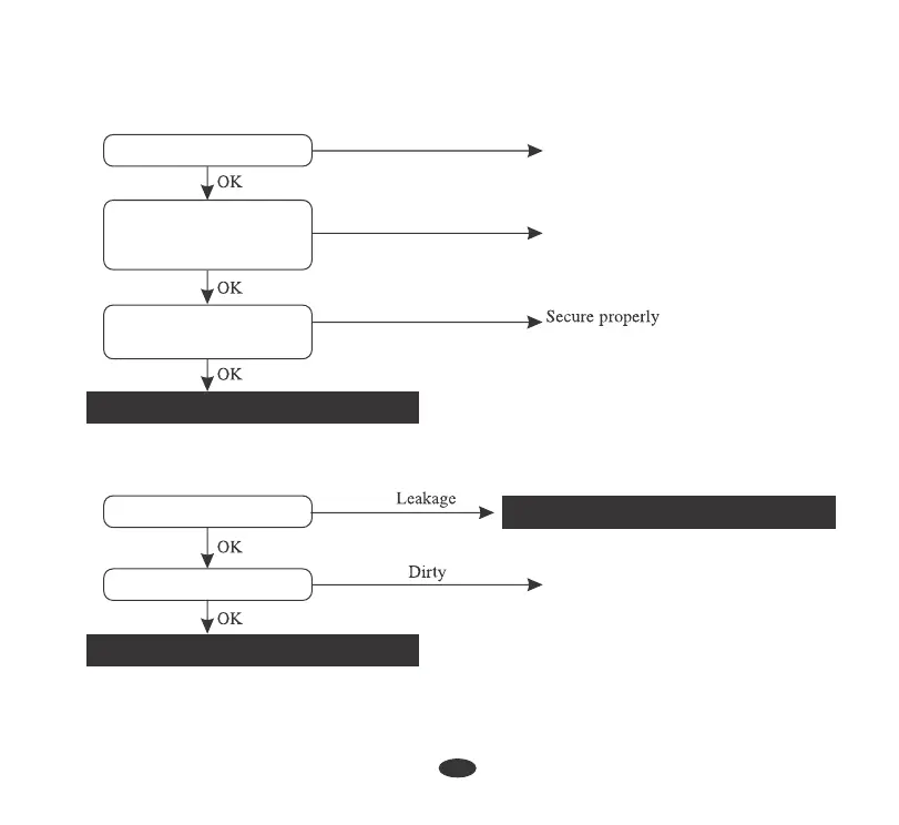
Consult Authorised WorkshopHero MotoCorp
Consult Authorised WorkshopHero MotoCorp
Consult Authorised WorkshopHero MotoCorp
Clean and refit (pages 34-35)
Replace plug/ajust (pages 33-34)
gap (0.8 - 0.9 mm)
Turn ignition switch “ON” (page-12)
Check ignition switch
Check spark plug for
fouling/ improper
electrode gap
Check for poorly connected
or loose spark plug wire
Check fuel lines
Check air cleaner
Loose contact
No spark
“OFF” position
C. No spark at spark plug
2. Engine starts but stalls

Related product manuals