EasyManua.ls Logo

Hitachi HA820 G2 - Page 131

Hitachi HA820 G2
188 pages
To Next Page IconTo Next Page
To Next Page IconTo Next Page
To Previous Page IconTo Previous Page
To Previous Page IconTo Previous Page
Loading...
Hitachi Advanced Server HA820 G2 User Guide 131
5.
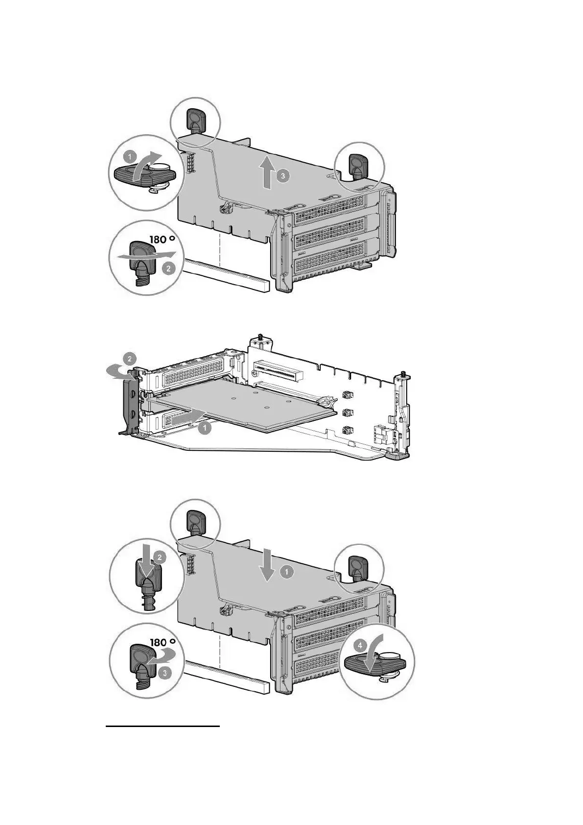
Remove the PCIe riser cage, if applicable.
6.
Install the DSP DSC-25 2p SFP28 card into the PCIe slot.
7.
Install the PCIe riser cage into the server.
8.
Install the access panel.
9.
Slide the server into the rack.

Table of Contents

Related product manuals