EasyManua.ls Logo

Hologic DISCOVERY C - 3.3.2 Check Power Line Voltage

Hologic DISCOVERY C
274 pages
Print Icon
To Next Page IconTo Next Page
To Next Page IconTo Next Page
To Previous Page IconTo Previous Page
To Previous Page IconTo Previous Page
Loading...
Discovery QDR Series Technical Manual
3-22
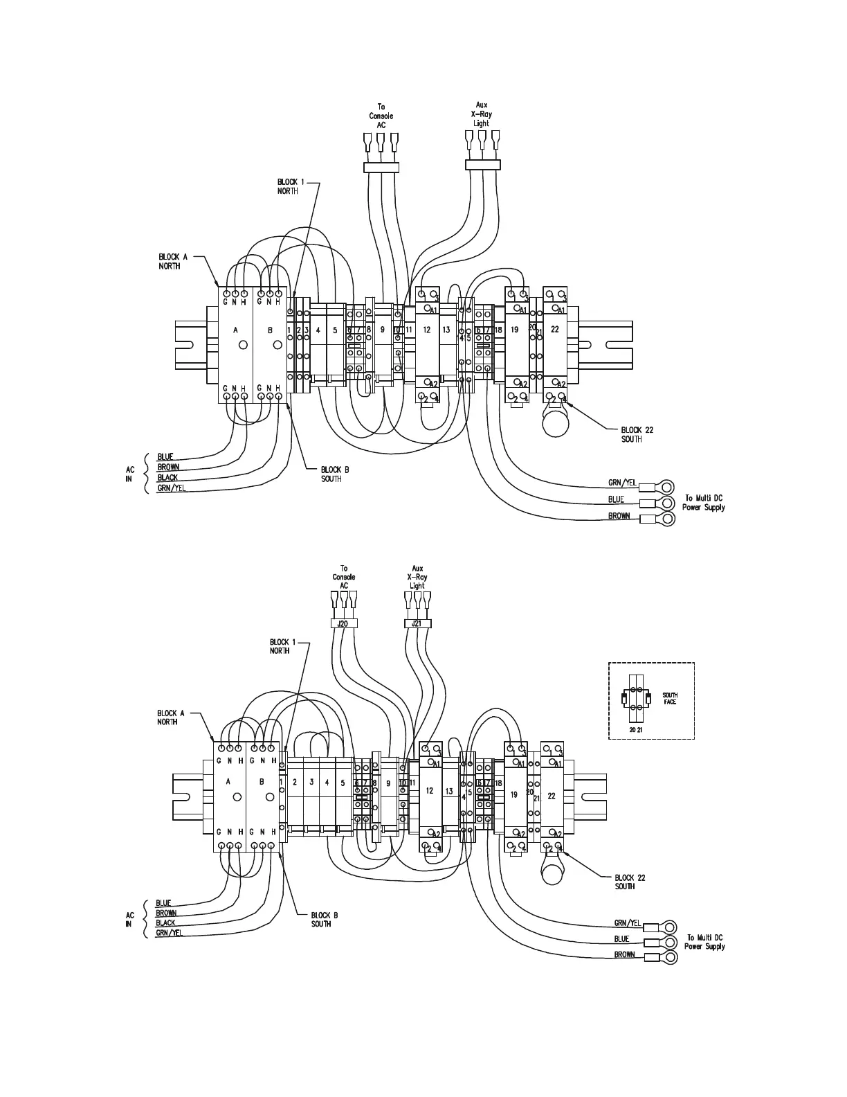
Figure 3-22. DISCOVERY-C and W DIN Rail AC Input/Output Wiring Diagram
Figure 3-23. Discovery-A and SL DIN Rail AC Input/Output Wiring Diagram

Table of Contents

Related product manuals