EasyManua.ls Logo

HP 54753A - Page 224

HP 54753A
288 pages
To Next Page IconTo Next Page
To Next Page IconTo Next Page
To Previous Page IconTo Previous Page
To Previous Page IconTo Previous Page
Loading...
Improving Time Domain Network Measurements
Removing Measurement Errors
10-18
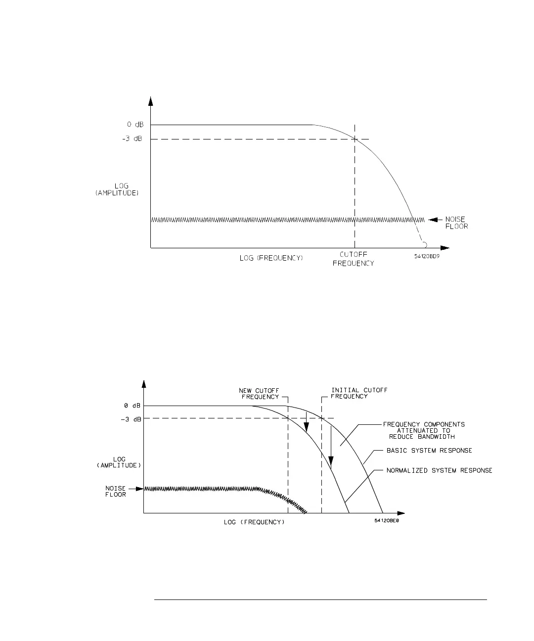
Figure 10-13
Basic system frequency response
In the HP 54750A Series digitizing oscilloscopes with TDR capability, the user-
specified risetime determines the bandwidth of the filter. Decreasing the
bandwidth is accomplished by attenuating the frequencies that are beyond the
bandwidth of interest (Figure 10-14). Increasing the bandwidth requires more
consideration.
Figure 10-14
Normalized system frequency response (system bandwidth reduced)

Table of Contents

Related product manuals