EasyManua.ls Logo

HP ProCurve 5300xl Series - Page 172

HP ProCurve 5300xl Series
664 pages
To Next Page IconTo Next Page
To Next Page IconTo Next Page
To Previous Page IconTo Previous Page
To Previous Page IconTo Previous Page
Loading...
Spanning-Tree Operation
Overview
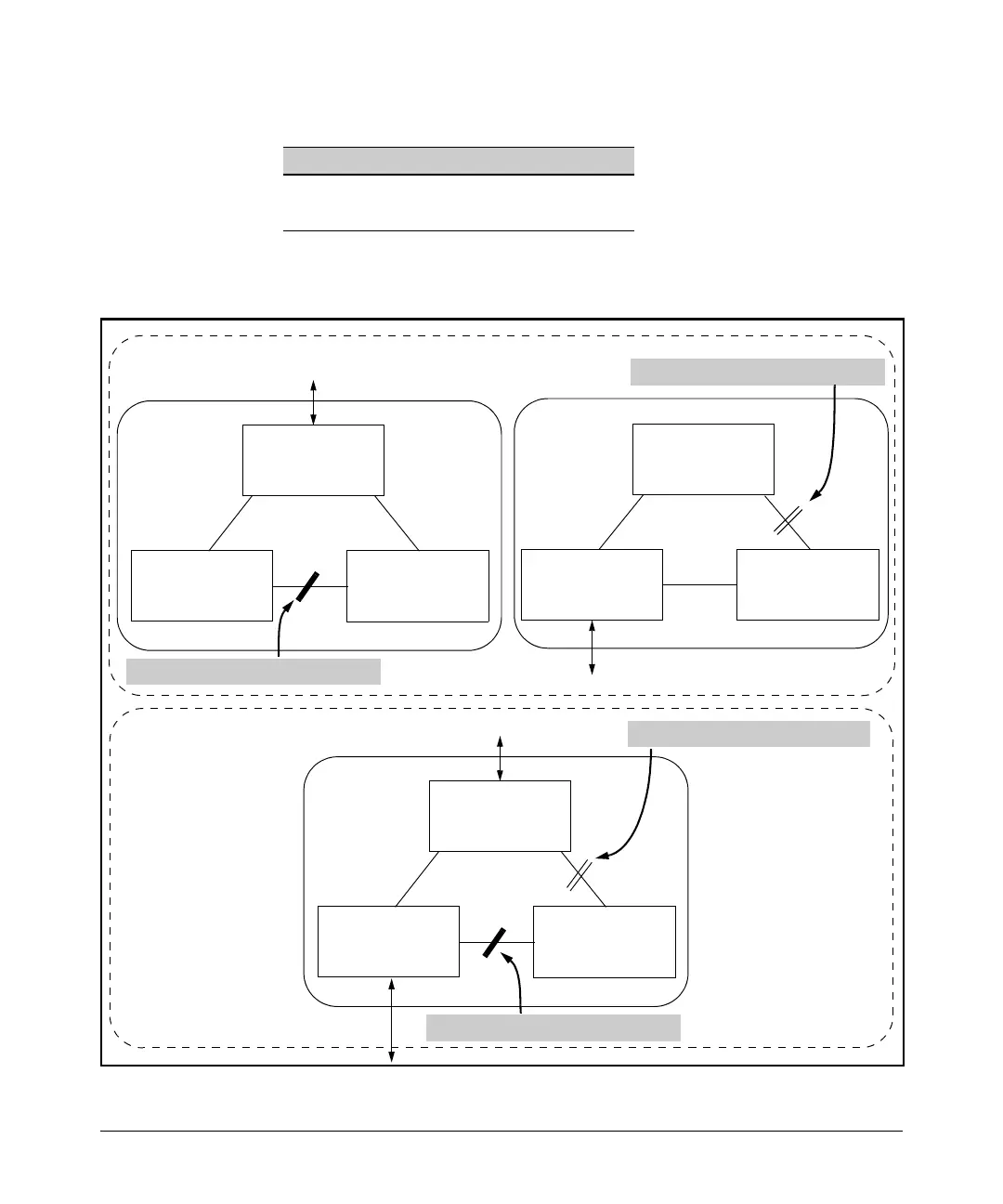
configured with VLANs grouped into two instances, as follows:
VLANs Instance 1 Instance 2
10, 11, 12 Yes No
20, 21, 22 No Yes
The logical and physical topologies resulting from these VLAN/Instance
groupings result in blocking on different links for different VLANs:
Switch “C”
Instance 1
VLANs: 10, 11, 12
Switch “A”
Root for Instance 1
VLANs: 10, 11, 12
Switch “B”
Instance 1
VLANs: 10, 11, 12
Switch “C”
Instance 2
VLANs: 20, 21, 22
Switch “A”
Instance 2
VLANs: 20, 21, 22
Switch “B”
Root for Instance 2
VLANs: 20, 21, 22
Switch “C”
Switch “A”
Root for Instance 1
Switch “B”
Root for Instance 2
Path blocked for VLANs in instance 1.
Path blocked for VLANs in instance 2.
Region “A”: Logical Topology
Path blocked for VLANs in instance 1.
Path blocked for VLANs in instance 2.
Region “A”: Physical Topology
Figure 6-1. Example of a Multiple Spanning-Tree Application
6-4

Table of Contents

Other manuals for HP ProCurve 5300xl Series

Related product manuals