EasyManua.ls Logo

Huawei SUN2000L - Page 29

Huawei SUN2000L
151 pages
Print Icon
To Next Page IconTo Next Page
To Next Page IconTo Next Page
To Previous Page IconTo Previous Page
To Previous Page IconTo Previous Page
Loading...
SUN2000L-(2KTL-5KTL)
User Manual
4 System Installation
Huawei Proprietary and Confidential
Copyright © Huawei Technologies Co., Ltd.
22
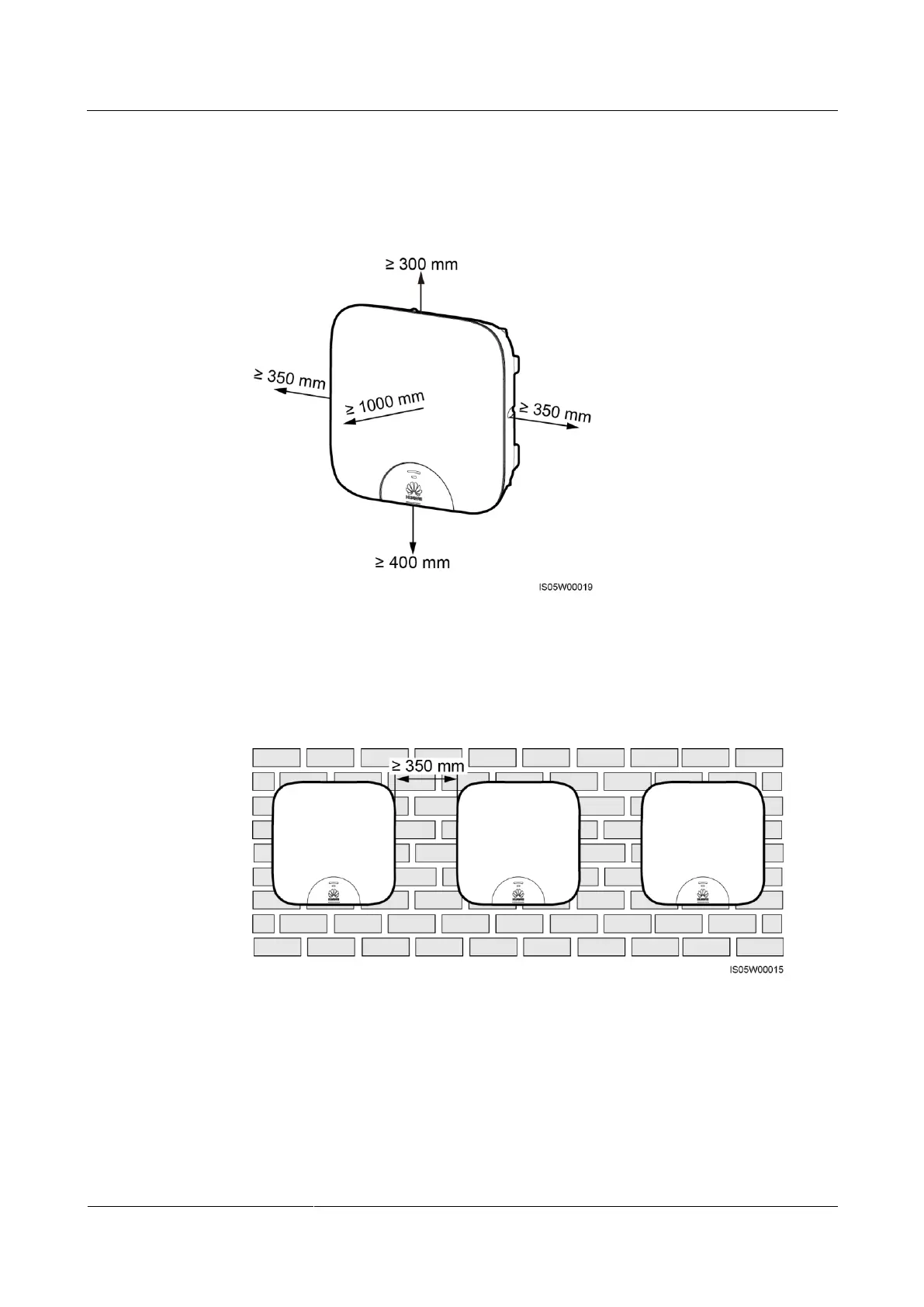
Installation Space Requirements
Reserve enough clearance around the SUN2000L to ensure sufficient space for
installation and heat dissipation.
Figure 4-2 Installation space requirements
When installing multiple SUN2000Ls, install them in horizontal mode if sufficient space
is available and install them in triangle mode if no sufficient space is available. Stacked
installation is not recommended.
Figure 4-3 Horizontal installation mode (recommended)

Table of Contents

Related product manuals