EasyManua.ls Logo

IMS Smart Cap 485 - Page 9

IMS Smart Cap 485
Print Icon
To Next Page IconTo Next Page
To Next Page IconTo Next Page
To Previous Page IconTo Previous Page
To Previous Page IconTo Previous Page
Loading...
Manual de Instalação e Operação
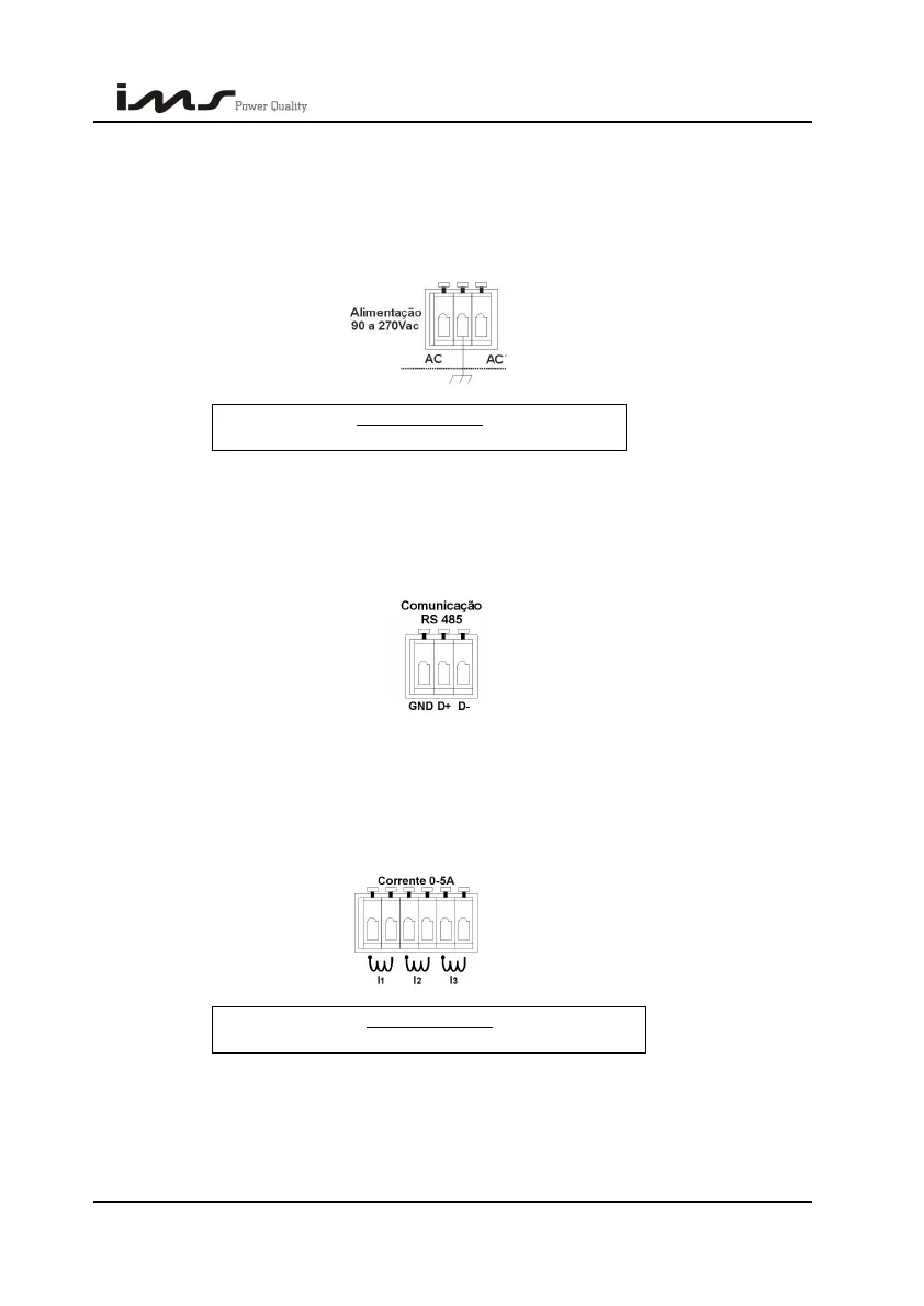
3.2.1. CONECTOR DE ALIMENTAÇÃO
É o conector onde deve ser ligada a energia que alimenta o Smart Cap 485. Neste
conector não nenhuma conexão com a tensão monitorada, servindo apenas para
alimentar o equipamento.
Recomenda-se o uso de aterramento, ficando a critério de cada instalação.
IMPORTANTE:
Tensão Máxima de Alimentação: 270Vca.
3.2.2. CONECTOR DA COMUNICAÇÃO SERIAL RS485
Nos bornes indicados por D+ e D- é feita a conexão com a rede de equipamentos
(RS485). Verificar a polaridade correta do cabo, quando for feita a ligação. A conexão do
borne do aterramento (GND) geralmente não é necessária.
3.2.3. CONECTOR DOS SENSORES DE CORRENTE
Existem 6 bornes onde devem ser ligadas as entradas de corrente, sendo um par de
bornes para cada TC.
Normalmente, esta ligação é feita através de transformadores de corrente (TC’s). Se
não houver TC a ligação deve ser feita diretamente. Respeitando limite máximo de 5A.
IMPORTANTE:
A corrente, neste conector, não deve ultrapassar 5A.
SMART CAP 485 9

Table of Contents