EasyManua.ls Logo

Inovance MD320 Series - 8.2 Common Fault and Resolution

Inovance MD320 Series
204 pages
Print Icon
To Next Page IconTo Next Page
To Next Page IconTo Next Page
To Previous Page IconTo Previous Page
To Previous Page IconTo Previous Page
Loading...
Fault Diagnosis and Solution MD320/MD320N User Manual
172
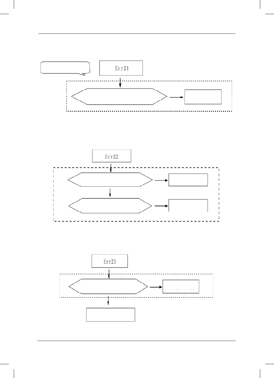
Da ta Ove rflow
If it is normal after replacing the
main control board
Main control board fault
As k for te chnica l support
Fig.8-20 Data overow (ERR21)
Yes
Yes
No
Inve rte r ha rdware fa ult
If it is ove r voltage
Re move ove r voltage fault
If it is ove r curre nt
Re move ove r curre nt fault
Fig.8-21 Inverter hardware fault(ERR22)
Fault of Short Circuit to Earth
De te ct if the moto r is s hort circuite d to e a rth
Replace the cable or motor
Re place the drive boa rd
Yes
Fig.8-22 Earth short circuit fault(ERR23)

Table of Contents

Related product manuals