EasyManua.ls Logo

IPSO IPD30STG - Air Switch Adjustment

IPSO IPD30STG
56 pages
Print Icon
To Next Page IconTo Next Page
To Next Page IconTo Next Page
To Previous Page IconTo Previous Page
To Previous Page IconTo Previous Page
Loading...
Page 36
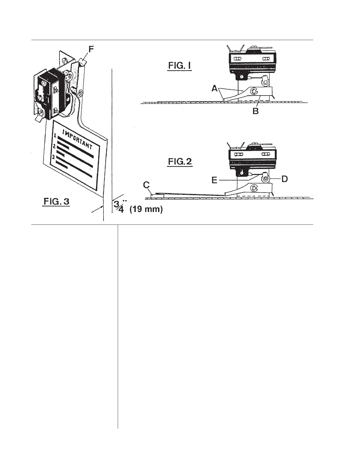
Air Switch Adjustment (Illustration)
1. Shut off current; disconnect leads and remove air switch.
2. Lay air switch assembly on flat surface. Adjust air blade at
“A” (FIGURE 1) so that air blade lays flat and surface “B” is
parallel to the flat surface.
3. Place 3/8" (10 mm) x 5/8" (16 mm) spacer bar or equivalent
“C” (FIGURE 2) under air blade in position shown; hold
switch mounting bracket firmly and adjust switch actuator
“D” with needle nose pliers at “E” by twisting actuator right
or left whichever is needed so that switch closes when end of
air blade engages bar “C”.
4. Maximum opening of air switch must be no greater than 3/4"
(20 mm) (FIGURE 3). Bend tab “F” in or out to maintain this
dimension.
5. Re-install air switch assembly on rear of dryer.
6. Re-check operation of air blade. Switch must close before
air blade engages face of opening and re-open before stop
“F” engages.
AIR SWITCH
ADJUSTMENT
(20 mm)

Related product manuals