EasyManua.ls Logo

Italtherm CITY BASIC - Mounting and Connection Details

Italtherm CITY BASIC
40 pages
Print Icon
To Next Page IconTo Next Page
To Next Page IconTo Next Page
To Previous Page IconTo Previous Page
To Previous Page IconTo Previous Page
Loading...
15
32.5
36
18
328
52 52 88
16
39 45 35 36 53
18
36
335
400
32.5
35
11
14
35
712
A A
B B
C
D
A
B
C
00005 04
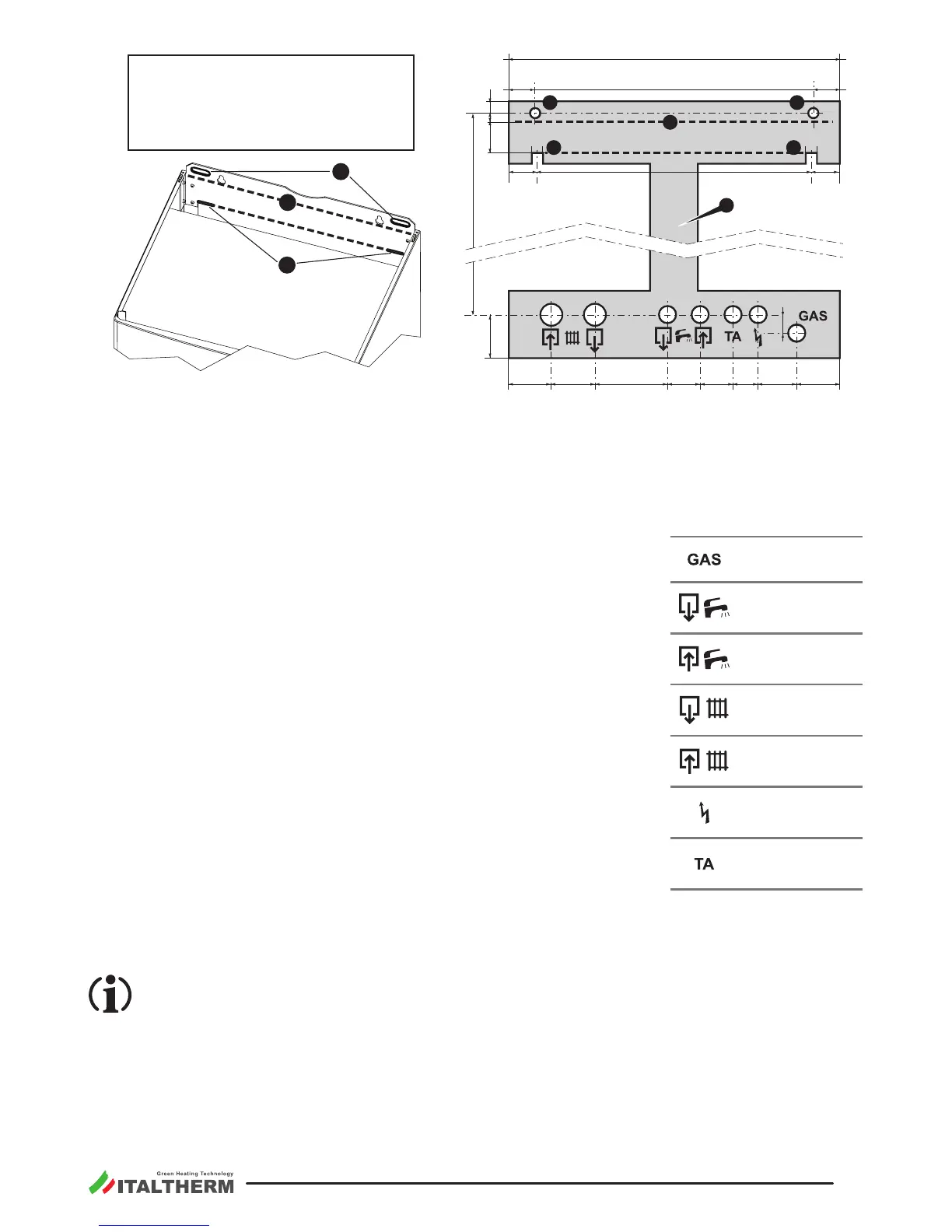
If necessary, the open hooks can be
posioned at any point along the edge B
of the boiler's frame bracket, provided
that they are 2 and that they support the
device in a correct and safe way.
Remark: A re-usable metal jig ( D in the gure) can be ordered separately, so as to facilitate connec-
ons and xing points posioning (when the original connecon kit is used). If the metal jig and/
or the original connecon kit are not used, refer to the paragraph "Dimensions and connec-
ons" on page 13 for the posion of the connecons directly on the boiler.
f Locate the exact posion of the boiler considering the sucient clearances for maintenance and
servicing: at least 50mm laterally and 300 mm on the lower side
f To x the boiler with wallplugs (“stud” type with nut), centre the rele-
vant wall holes as regards to A points. To hang it with open hooks, place
hooks in correspondence with B points.
f If the metal jig is used, hang it on the wall using the same wallplugs or
hooks and the holes or slots indicated in the gure ( A for the plugs and
B for the open hooks).
f Fix up the connecons and all ducts for heang ow and return, cold
water, hot water, gas and electrical cables, predisposing them in the
holes of the metal jig or respecng the measures in the paragraph "Di-
mensions and connecons" on page 13. The upper edge of boilers body
is represented by the doed line C in the gure.
f Remove the jig (if used) and hang the boiler to the wallplugs or hooks,
using the holes or slots indicated in the gure ( A for the plugs and B for
the open hooks).
f placed to close the hydraulic connecons on
the boiler.
f Proceed with the hydraulic, gas, electrical and ue connecons following the instrucons and warn-
ings reported in the following paragraphs.
The connecons of the boiler are engineered to t plain couplings with screw ring, interposing
a plain gasket of suitable size and material, that ensure a reliable seal even without excessive
ghtening force. They are NOT suitable for hemp, teon tape or similar materials
Remark: the lower grid is spare inside packing, not assembled. We suggest to x the grid only at the
end of the boiler installaon operaons.
Gas (1/2”)
Hot Water
Outlet (1/2”)
Cold Water
Inlet (1/2”)
Heang
Flow (3/4”)
Heang
Return (3/4”)
Electrical
Power Supply
Room
Thermostat

Table of Contents

Related product manuals