EasyManua.ls Logo

KBR multicomp F144-MS-1V1C1TI6DO6RO-3 - Page 18

KBR multicomp F144-MS-1V1C1TI6DO6RO-3
68 pages
Print Icon
To Next Page IconTo Next Page
To Next Page IconTo Next Page
To Previous Page IconTo Previous Page
To Previous Page IconTo Previous Page
Loading...
Rev. 1.00
22586_EDEBDA0253-0318-1_EN
18
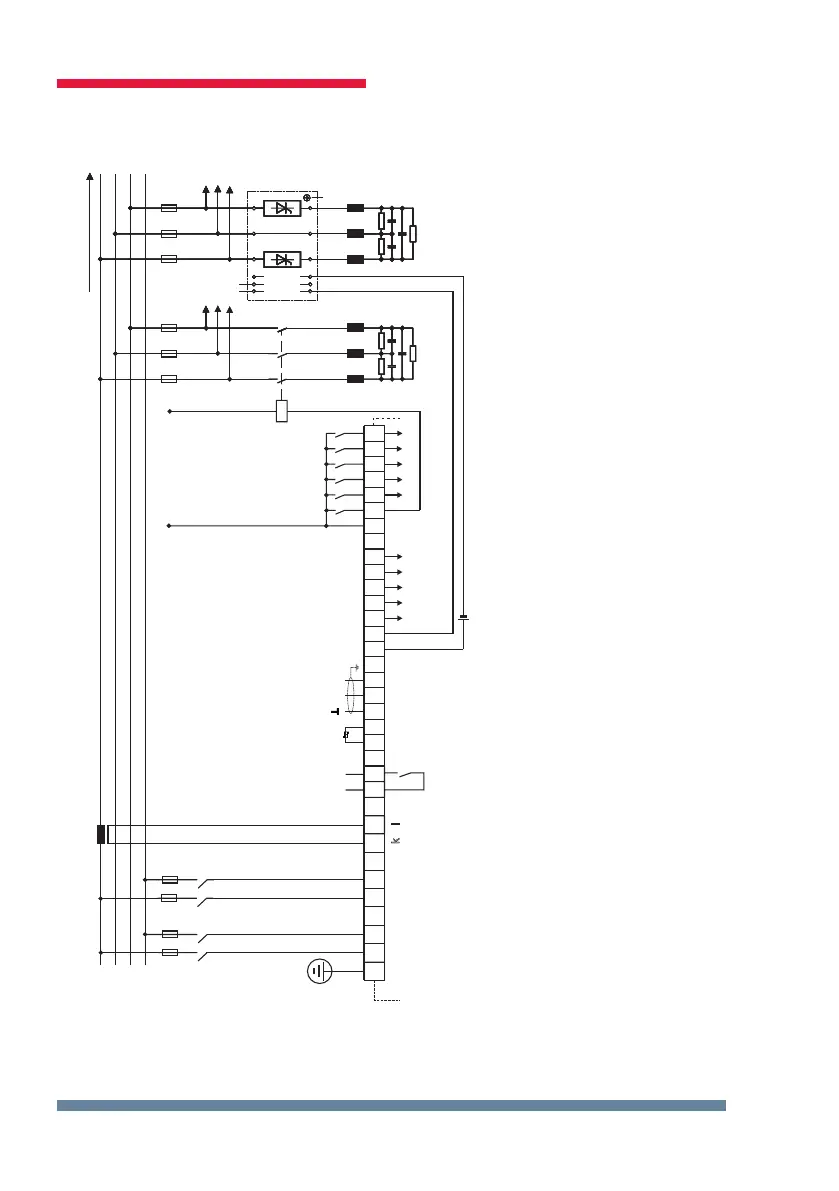
KBR multicomp F144-3 6DO/6RO
Contact is open
by no power
and alarm
Kontakt bei
Störung und
im stromlosen
Zustand oen
30 31
70
71 90
91
92
Alarm
temperature
probe
Te mperatur-
fühler /
Bus
B
A
40
41 42
43 44
45 46
47
48 49
50 51
52 53
+ 24 -
Digitale Ausgänge
digital outputs
+ k1 k2 k3 k4 k5 k6
k7 k8 k9 k10 k1 1 k12
Relaisausgänge
relay outputs
k l
20 21
Messstrom/ measuring current
KL
LN
12 10 11
L1
EVU
L2
L3
N
Steuerspannung/ driving voltage
PE
k l
20 21
Messstrom/ measuring current
KL
LN
12 10 11
L1
EVU
L2
L3
N
Steuerspannung/ driving voltage
PE
Steuerspannung/
driving voltage < 250V
F1
F3
F4
Trenn-
vorrichtung/
circuit breaker
+
-
Kompensationsanlage
power factor
correction equipment
Verbraucher / consumer
+
-
Kompensationsanlage
power factor
correction equipment
Verbraucher / consumer
+
-
Kompensationsanlage
power factor
correction equipment
Verbraucher / consumer
+
-
weitere Stufen
further stages
Kompensationsanlage
power factor
correction equipment
Verbraucher / consumer
+
-
weitere Stufen
further stages
Kompensationsanlage
power factor
correction equipment
Verbraucher / consumer
+
-
weitere Stufen
further stages
Kompensationsanlage
power factor
correction equipment
Verbraucher / consumer
F2
*)
100-240V
+/- 10%
DC/50/
60 HZ
Messspannung
Measuring voltage
30 ... 690 V
*)
Hinweis / note:
k12 wahlweise Lüfteranschluss oder Kompensationsstufe
(Werkseinstellung = Lüfteranschluss)
k12 optional fan connection or compensation stage
(factory default = fan connection)
Connection measuring voltage PH-N
Installation and electrical connection

Related product manuals