EasyManua.ls Logo

Keysight N8976B - Page 218

Keysight N8976B
524 pages
Print Icon
To Next Page IconTo Next Page
To Next Page IconTo Next Page
To Previous Page IconTo Previous Page
To Previous Page IconTo Previous Page
Loading...
218 Keysight NFA Series Noise Figure Analyzers Service Guide
RF Section Troubleshooting (N8976B)
Troubleshooting
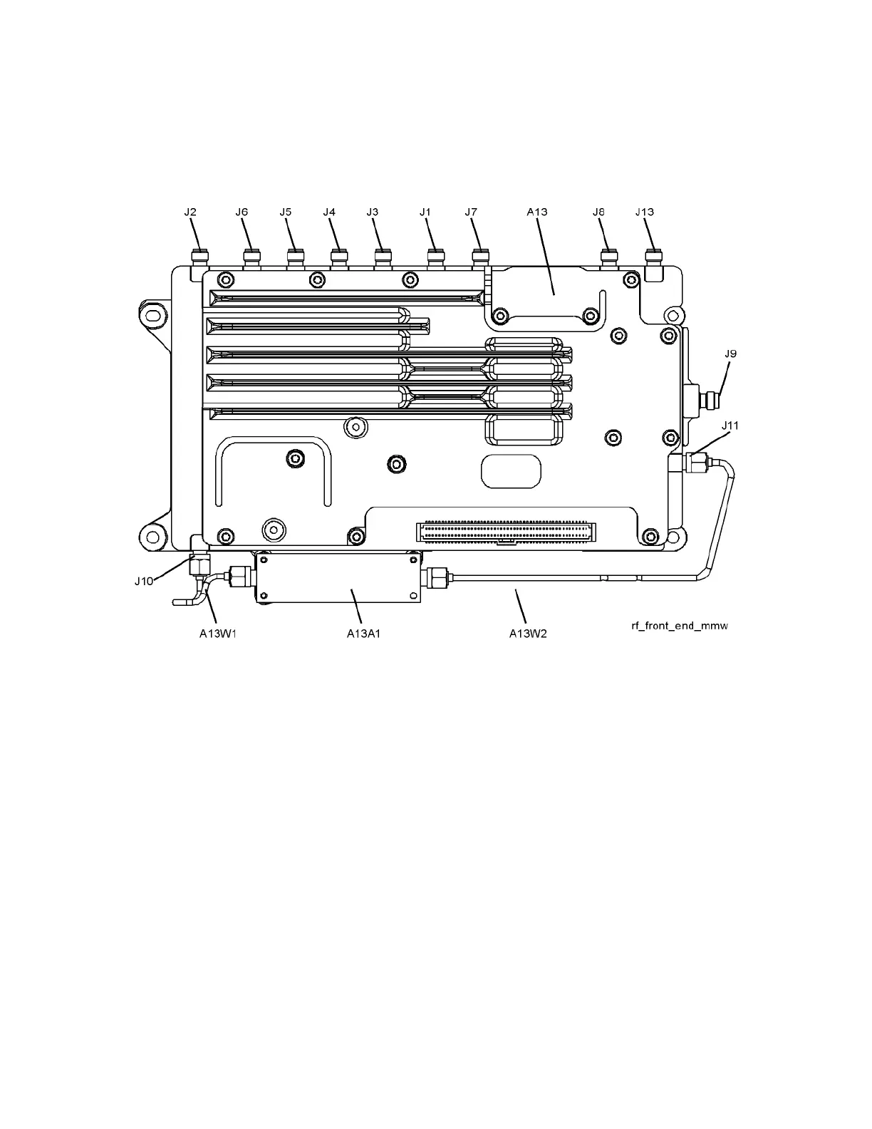
Disconnect cable W36 at A13J7, 322.5 MHz output on the Front End
Assembly. See Figure 5-7. Select Span, 0 Hz.
Figure 5-7 A13A1J7 Location (N8976B)

Table of Contents

Other manuals for Keysight N8976B

Related product manuals