EasyManua.ls Logo

Kold-Draft RC314APV SC200 - Gb106 Xr Wiring Diagram

Kold-Draft RC314APV SC200
107 pages
Print Icon
To Next Page IconTo Next Page
To Next Page IconTo Next Page
To Previous Page IconTo Previous Page
To Previous Page IconTo Previous Page
Loading...
34
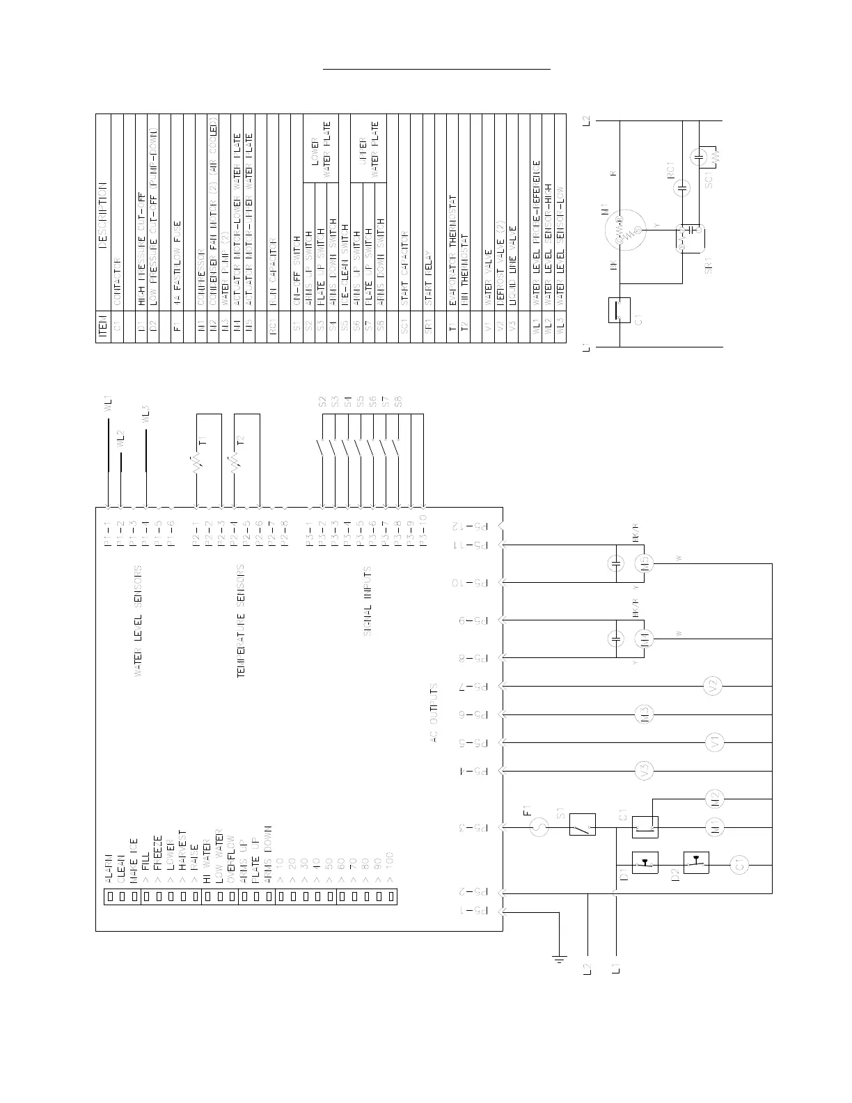
GB106XR WIRING DIAGRAM

Table of Contents

Related product manuals