EasyManua.ls Logo

Komatsu 730E - 23. Flow Control Valve

Komatsu 730E
182 pages
Print Icon
To Next Page IconTo Next Page
To Next Page IconTo Next Page
To Previous Page IconTo Previous Page
To Previous Page IconTo Previous Page
Loading...
OM4211 07/09 Maintenance - Section 42
Automatic Lubrication System Page 42-3
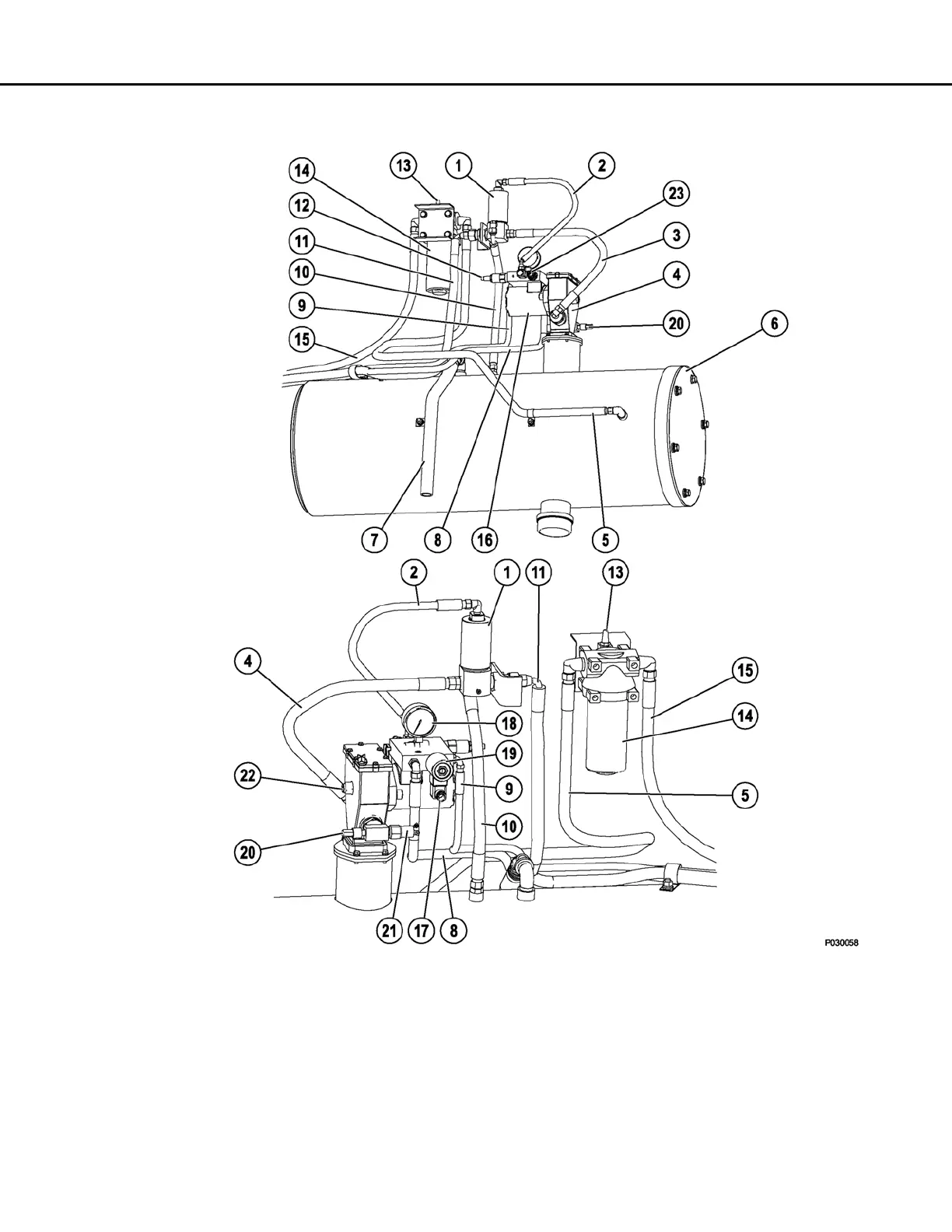
FIGURE 42-3. AUTO LUBRICATION SYSTEM (FRONT AND REAR VIEW)
1. Vent Valve
2. Vent Valve/Vent Hose
3. Grease Pump Supply
Hose To Vent Valve
4. Grease Pump
5. Grease Supply From
Filter
6. Reservoir
7. Reservoir Vent Tube
8. Hydraulic Oil Return
9. Hydraulic Oil Supply
10. Vent Valve Return Hose
11. Grease Supply To
Injectors
12. Pressure
Reducing Valve
13. Dirty Filter Indicator
14. Filter Assembly
15. Reservoir Fill Hose
(To Filter)
16. Hydraulic Motor
17. Manual Override Button
18. Pressure
Gauge(Optional)
19. Solenoid Valve
20. Unloader Valve
(Not Adjustable)
21. Pump Cutoff
Pressure Switch
22. Oil Fill Plug
23. Flow Control Valve

Table of Contents

Other manuals for Komatsu 730E

Related product manuals