EasyManua.ls Logo

Komatsu 730E - Center Console; F-N-R Selector Switch; Hoist Control Lever; 10. Cigarette Lighter

Komatsu 730E
182 pages
Print Icon
To Next Page IconTo Next Page
To Next Page IconTo Next Page
To Previous Page IconTo Previous Page
To Previous Page IconTo Previous Page
Loading...
Operation - Section 32 OM3223
Page 32-6 Operator Cab and Controls
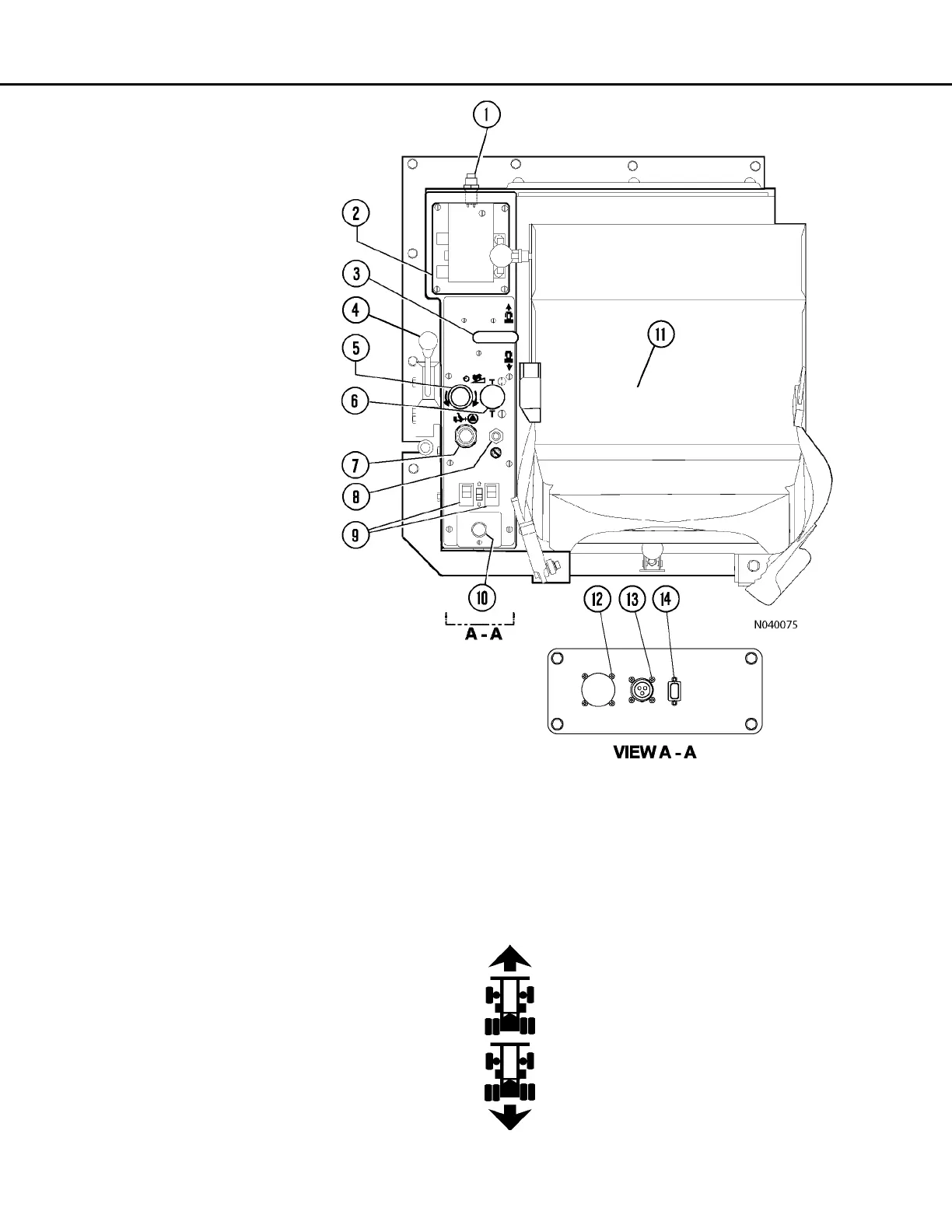
Data Storage Button
Data storage button (1, Figure 32-7) is for use by
qualified maintenance personnel to record in memory
a “snap-shot” of the Statex III drive system.
Trolley Master Control Lever
Trolley master switch (2) is mounted on the console
to the right of the operator’s seat. It is a four position
switch that controls the speed and use of trolley
assistance. For more information regarding the trol-
ley master control lever, refer to trolley operating
instructions.
F-N-R Selector Switch
Selector switch (3, Figure 32-7) is mounted on a con-
sole to the right of the operator's seat. It is a three
position switch which controls the forward-neutral-
reverse motion of the truck. When the selector switch
handle is in the N position, it is in NEUTRAL. The
handle must be in NEUTRAL to start the engine.
The operator can select Forward drive by
moving the handle forward.
Reverse drive can be selected by moving
the handle to the rear.
The truck is to be stopped before the
selector handle is moved to a drive posi-
tion.
CENTER CONSOLE
The center console contains:
1. Data Storage Button
2. Trolley Master Control Lever
3. F-N-R Selector
4. Hoist Control Lever
5. Retarder Speed Control Dial
6. RSC ON / OFF Switch
7. Override Switch
8. Engine Shutdown Switch
9. Window Control Switches
10. Cigarette Lighter
11. Passenger Seat (mounted on
top of the right hand portion of
the console structure)
12. Engine Diagnostics
13. Engine Diagnostics Port
(CENSE)
14. Statex III Download Port
FIGURE 32-7. CENTER CONSOLE

Table of Contents

Other manuals for Komatsu 730E

Related product manuals