EasyManua.ls Logo

Komatsu 730E - Page 169

Komatsu 730E
182 pages
Print Icon
To Next Page IconTo Next Page
To Next Page IconTo Next Page
To Previous Page IconTo Previous Page
To Previous Page IconTo Previous Page
Loading...
OM7007 Radio / CD Player - Section 70
Page 70-1
AM/FM RADIO / CD / MP3 / USB / iPOD™ / AUX PLAYER
OPERATING INSTRUCTIONS
GENERAL RADIO RECEIVER FUNCTIONS
The receiver is equipped with:
An AM band with 6 AM presets
Two FM bands for a total 12 FM presets
One Weatherband with 6 WX presets
USB port to access additional music files
Auxiliary port to access additional music files
Turning On the Power
With the key switch ON, the receiver can be turned
on and off by pressing button (1, Figure 70-1).
Pressing ON/AUDIO (2) knob also activates the
radio.
One-Hour Timer
With the key switch OFF, pressing the button or
the ON/AUDIO (2) knob will turn on the receiver and
activate the receiver's one-hour timer. The receiver
will turn off after one hour. Pressing the button or
ON/AUDIO (2) knob again reactivates the one-hour
timer.
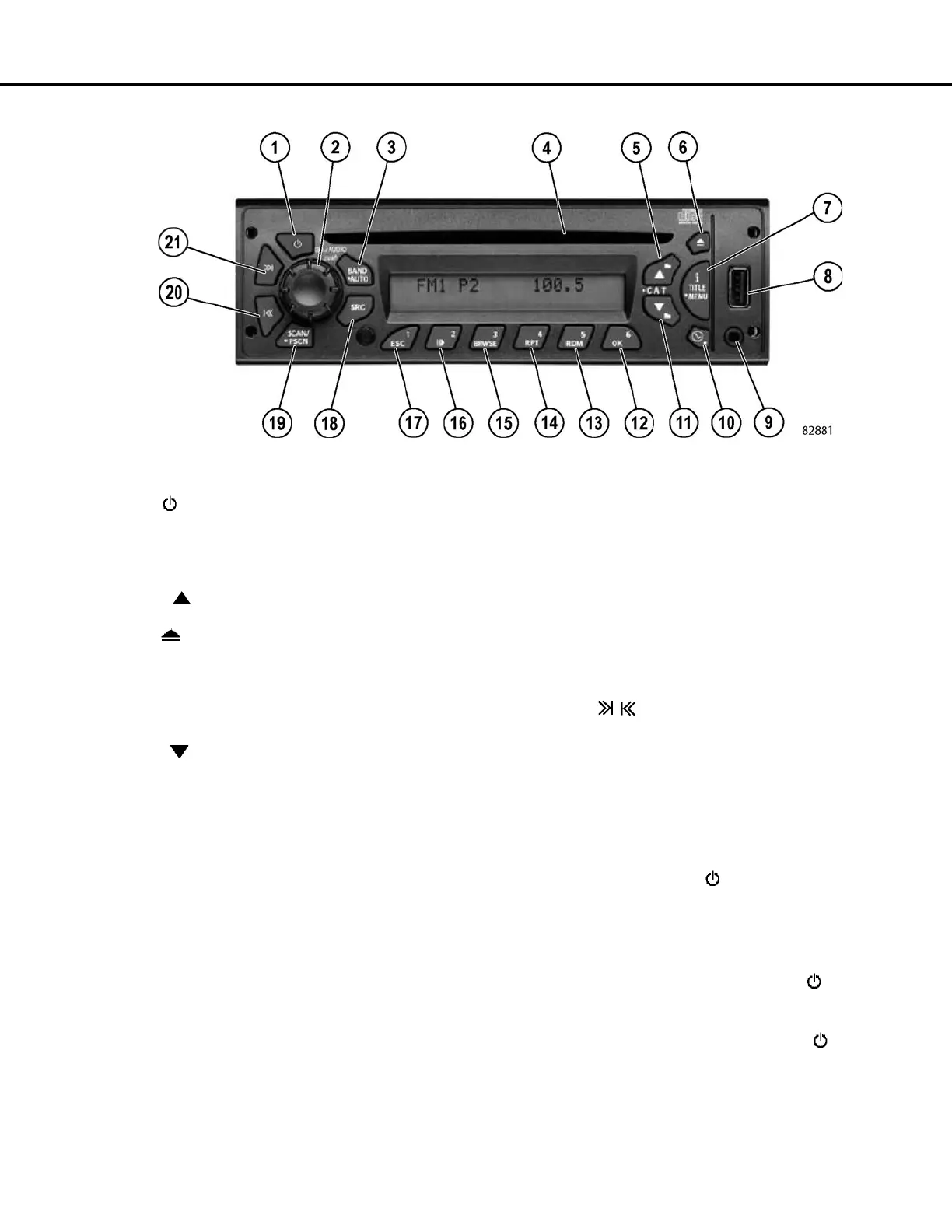
FIGURE 70-1. AM/FM RADIO / CD PLAYER
1. - Turns the radio on or off
2. ON/AUDIO - Power/volume/receiver settings
3. BAND/AUTO - Switches bands, stores stations to
presets.
4. CD Slot - Place CDs into radio
5. + SCROLL - Switches to next available radio sta-
tion or changes folder on CD/MP3 or USB
6. - Ejects CD from radio
7. i TITLE/MENU - Displays information/title of current
song
8. USB - Input port for memory devices
9. AUX. - Input port for external audio devices
10. CLOCK/ALARM - Displays alarm set time
11. - SCROLL- Switches to previous radio station,
or changes folder on CD/MP3/USB
12. OK - Enables selection on a menu
13. RDM - Plays CD tracks and MP3/WMA files and fold-
ers randomly
14. RPT - Repeats the same CD track or WMA file/folder
until cancelled
15. BRWSE - Allows access into iPod menu
16. PAUSE/PLAY - Pauses CDs, MP3 files and iPod
17. ESC - Exits when in a menu or backs one submenu
18. SRC - Switches to CD/MP3/USB/iPod/Aux mode
19. SCAN/PSCAN - Scans all stations and presets in
current band CD/MP3/WMA/ files and folders
20. SEEK - Switches to next or previous available
radio station/CD track/MP3/WMA file
Push Buttons 12-17 - Pre-set stations/controls CD/
MP3/WMA/USB/iPOD functions

Table of Contents