EasyManua.ls Logo

Komatsu 730E - Page 56

Komatsu 730E
182 pages
Print Icon
To Next Page IconTo Next Page
To Next Page IconTo Next Page
To Previous Page IconTo Previous Page
To Previous Page IconTo Previous Page
Loading...
Operation - Section 30 OM3070
Page 30-2 Operating Instructions
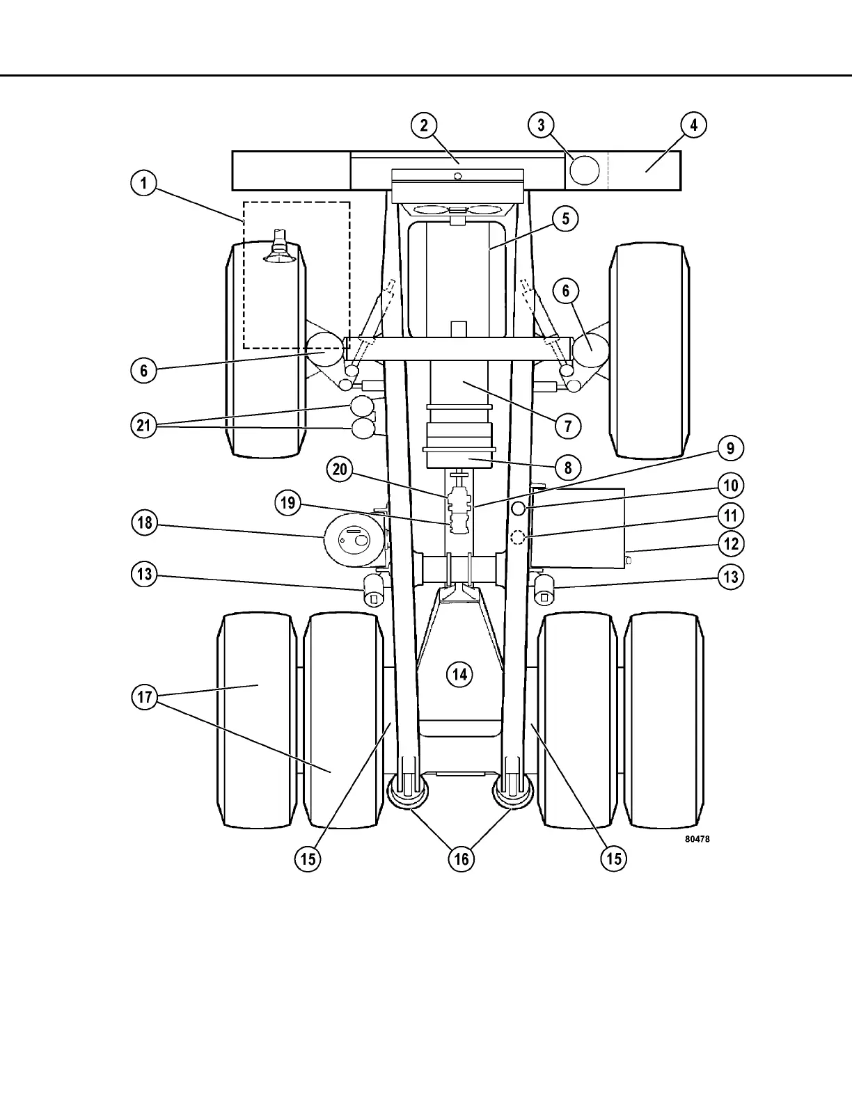
1. Cab
2. Radiator
3. Reserve Oil
4. Auto Lube
5. Engine
6. Front Hydrair II® Suspension
7. Traction Alternator
8. Cooling Blower
9. Cooling Duct
10.Steering Circuit Filter
11.Hoist Circuit Filter
12.Fuel Tank
13.Hoist Cylinders
14.Rear Axle Housing
15.Drive Motors
16.Rear Hydrair II® Suspension
17.Tires
18.Hydraulic Tank
19.Steering and Brake Circuit Pump
20.Hoist Circuit Pump
21.Accumulators
FIGURE 30-1. Component Location

Table of Contents

Other manuals for Komatsu 730E

Related product manuals