EasyManua.ls Logo

Kubota RT120Q - Backhoe Console

Kubota RT120Q
219 pages
Print Icon
To Next Page IconTo Next Page
To Next Page IconTo Next Page
To Previous Page IconTo Previous Page
To Previous Page IconTo Previous Page
Loading...
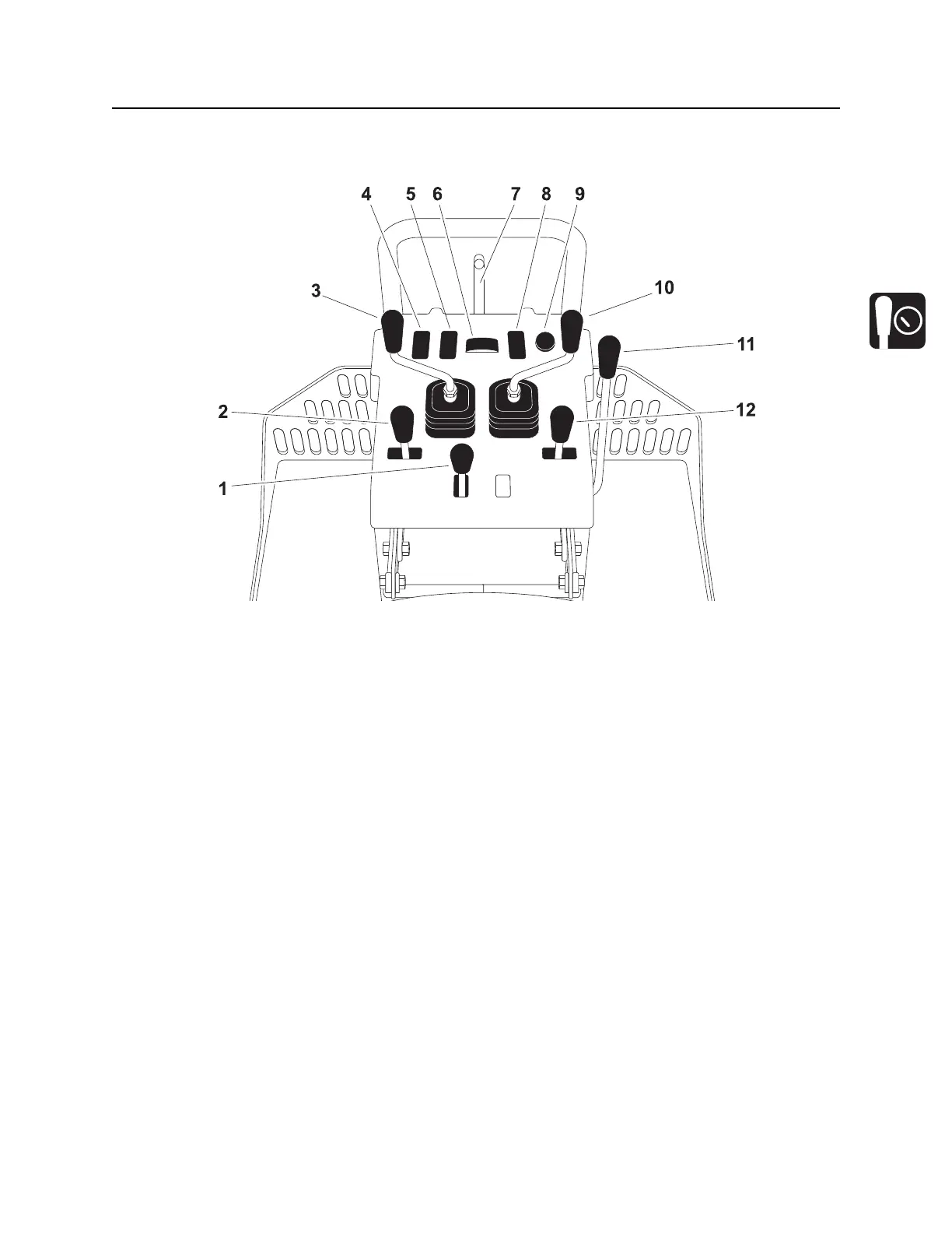
RT120Q Operator’s Manual Controls - 63
Backhoe Console
Backhoe Console
1. Remote backfill blade control*
2. Left stabilizer control
3. Boom/Swing control
4. Remote throttle control switch
5. Remote throttle enable switch
6. Work light switch*
7. Swing lock pin
8. Ground drive switch
9. Remote engine stop switch
10. Bucket/Dipper control
11. Stow lock control
12. Right stabilizer control
*Optional
t37om046w.eps

Table of Contents

Related product manuals