EasyManua.ls Logo

LaneShark LS-3 - BACKPLATE

LaneShark LS-3
43 pages
Print Icon
To Next Page IconTo Next Page
To Next Page IconTo Next Page
To Previous Page IconTo Previous Page
To Previous Page IconTo Previous Page
Loading...
(850) 610-2870 www.lanesharkusa.com 12
Lane Shark LS-3
COMPONENTS
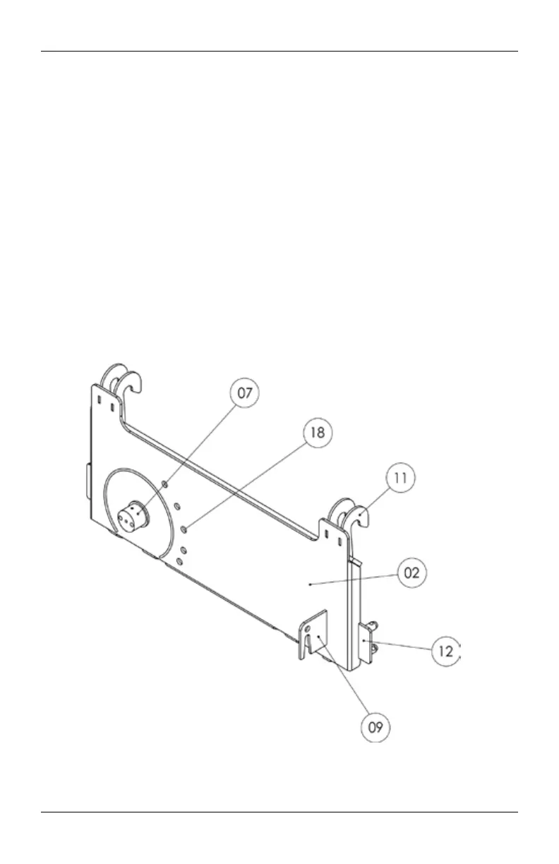
(02) BACKPLATE BPLS3000002022A
The Backplate (02) mounts vertically to the rear of the Cutting
Deck (01) this allows the Backplate (02) to act as the main support system
for the LS-3. (Facing the unit) Oset to the left side of the Backplate (02) is
a roughly 3 inch Boss pivot pin, this attaches the Swing Arm (06), Kickstand
(04), Main Adjustment Hinge (05), Main Arm Support (10), to the Cutting
Deck (01) and operates as the Main Pivot Point (07). Surrounding this are
5 Position Adjustment (18) holes. By using the Main Pivot Point (07) and
the multiple Position Adjustments (18) it allows the LS-3 to transition up
to 180 degrees to the vertical and oset positions. (Facing the unit ) Near
the bottom right corner of the Backplate (02) a single Lock Bracket (09) is
attached to lock the Cutting Deck (01) via Tower Locks (13) to the
Backplate (02) when in the home position.