EasyManua.ls Logo

LG LB652082S - Page 96

LG LB652082S
108 pages
Print Icon
To Next Page IconTo Next Page
To Next Page IconTo Next Page
To Previous Page IconTo Previous Page
To Previous Page IconTo Previous Page
Loading...
96
Oven door
Dismantling the oven door
The oven door is fitted with four glass panels, mounted one
behind the other. The inner glass panels can be removed for
cleaning.
Note : The following steps must be performed only after the
oven door has been removed. Then place the door on a
soft and even surface with the handle facing down to
protect it from breakage and to prevent it getting
scratched.
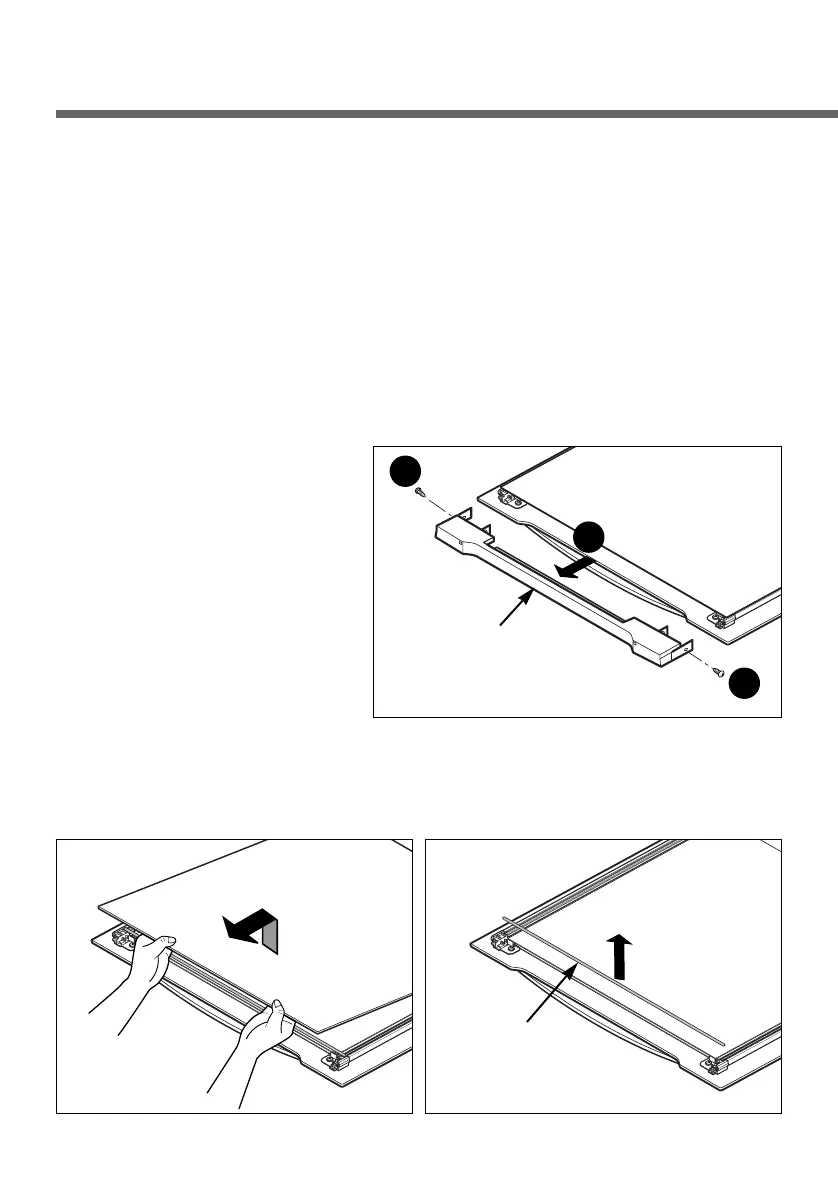
Step. 1
Remove the two screws at
the right and left-hand side
of the door and pull the top
cover above the glass
panels forward.
Step. 2
Lift the innermost pane up and out from the door carefully. Then
remove the insulator.
1
1
2
Door top cover
insulator

Other manuals for LG LB652082S

Related product manuals