EasyManua.ls Logo

Liebert NX 10kVA - Figure 22 Battery Circuit Breaker Box Connections

Liebert NX 10kVA
68 pages
Print Icon
To Next Page IconTo Next Page
To Next Page IconTo Next Page
To Previous Page IconTo Previous Page
To Previous Page IconTo Previous Page
Loading...
Options
40
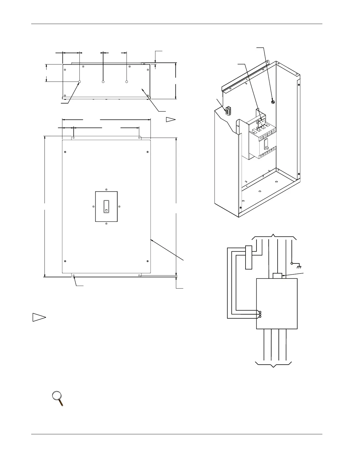
Figure 22 Battery circuit breaker box connections
NOTE
1. The signal cables in this figure must be shielded and double-insulated.
2. Connect the Pes (Protection Earth) of the UPS cabinet and BCB box to the same point.
ISOMETRIC VIEW W/O TO & COVER
(-)
CIRCUIT
BREAKER
(
+
)
(
-
)
(GND)
(+)
(-)
8.34"
211.72mm
.38"
9.53mm
3.98"
101.2mm
3.86"
97.95mm
5.39"
137mm
5.39"
137mm
.38"
9.53mm
31.50"
800.1mm
(MTG DIM.)
32.25"
819.15mm
2.62"
66.62mm
15.00"
381mm
(MTG DIM.)
20.24"
514.21mm
O
.31"
7.92mm
(TYP. .25" HDWR)
REMOVEABLE
COVER
CONDUIT ENTRY
TOP & BOTTOM
3
TB1
CUSTOMER GROUND
.25" STUD FOR
6GA - 2/0 WIRE
O
.50"
12.7mm
X6
(+)
(-)
(+)
FROM CUSTOMER'S
BATTERY SYSTEM
(FIELD INSTALLED)
(FIELD SUPPLIED)
CONNECT TO UPS MODULE
(FIELD INSTALLED)
1
2
3
4
5
6
TB1
N.C. BLUE
N.O. RED
COM BLACK
302
303
(-) (-)
(+)
(+)
NEUTAL
1. HARDWARE FOR CONNECTING CABLES TO THE BREAKER SUPPLIED.
2. "TYPE-1" RATED ENCLOSURE.
3. LOW VOLTAGE WIRING NEEDS TO ENTER THIS BOX FROM THE TOP.
4. DC OUTPUT POWER CONNECTIONS WILL ACCEPT (2) POSITIVE AND (2) NEGATIVE
WIRES, ACCEPT 2GA.
5. DC INPUT CONNECTION WILL ACCEPT 2GA WIRE FOR 10 -15KVA UPS WITH 70A BREAKER,
OR 20-30KVA UPS WITH 125A BREAKER.
NEUTRAL BUSBAR
NEUTRAL
BUSBAR

Table of Contents

Related product manuals