EasyManua.ls Logo

LSIS XBF-AD08A - Page 240

LSIS XBF-AD08A
618 pages
Print Icon
To Next Page IconTo Next Page
To Next Page IconTo Next Page
To Previous Page IconTo Previous Page
To Previous Page IconTo Previous Page
Loading...
Chap. 6 Analog I/O Module (XBF-AH04A)
6.12.
Exemplary Usage of PUT/GET Command
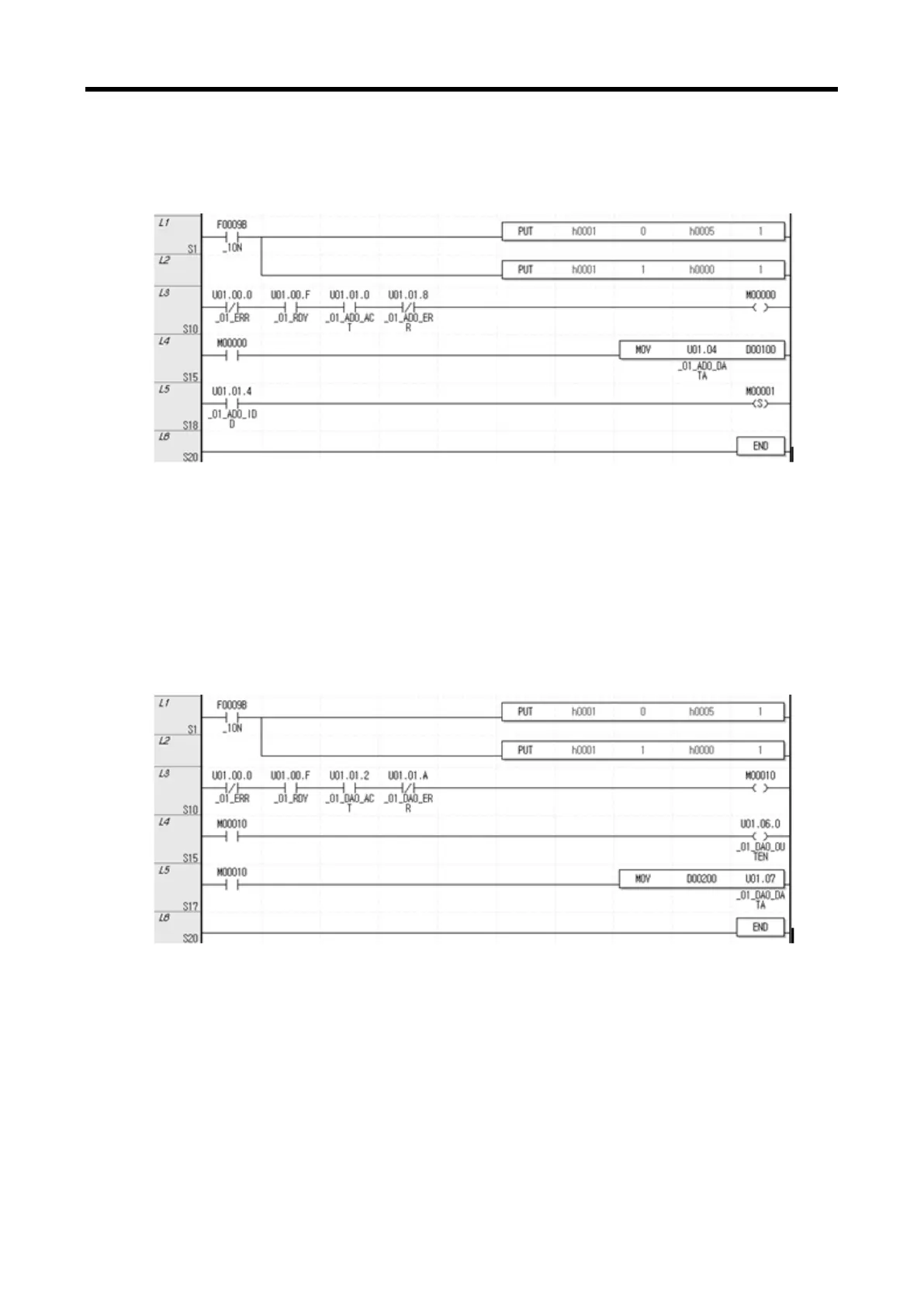
(1) Sample Input Program
Input CH0 Program
(a) Using PUT command to write h0005 in the address 0, slot 1 to operate Input Channel 0 and
Output Channel 0.
(b) Using PUT command to write h0000 in the address 1, slot 1 to set the input range of Input
Channel 0 to DC 4 ~ 20mA and the output range of the Output Channel 0 to DC 4 ~ 20mA.
(c) When the module is in normal operation, M0000 is turned ON.
U01.00.0(Module Error) = Off, U01.00.F(Module Ready) = On
U01.01.0(Input Channel 0 in-operation) = ON, U01.01.8(Input Channel 0 Error) = Off
(d) When M0000 is ON, Input Channel 0 Converted Value(U01.04) is transferred to D00100.
(e) If open-wire error occurs at Channel 0, U01.01.4(Channel0open) is ON, and M0001 bit is set.
(2) Sample Output Program
Output CH0 Program
(a) Using PUT command to write h0005 in the address 0, slot 1 to operate Input Channel 0 and
Output Channel 0.
(b) Using PUT command to write h0000 in the address 1, slot 1 to set the input range of Input
Channel 0 to DC 4 ~ 20mA and the output range of the Output Channel 0 to DC 4 ~ 20mA.
(c) When the module is in normal operation, M00010 is turned ON.
U01.00.0(Module Error) = Off, U01.00.F(Module Ready) = On
U01.01.2(Output Channel 0 in-operation) = ON, U01.01.A(Output Channel 0 Error) = Off
(d) When M00010 is ON, Channel 0 Output Status setting (U01.06.0) is turned ON and output is
permitted.
(e) When M00010 is ON, data of D00200 is transferred to Output Channel 0 Input Value (U01.07)
and outputted.
6 - 43

Table of Contents

Related product manuals