EasyManua.ls Logo

LSIS XBF-AD08A - Page 381

LSIS XBF-AD08A
618 pages
Print Icon
To Next Page IconTo Next Page
To Next Page IconTo Next Page
To Previous Page IconTo Previous Page
To Previous Page IconTo Previous Page
Loading...
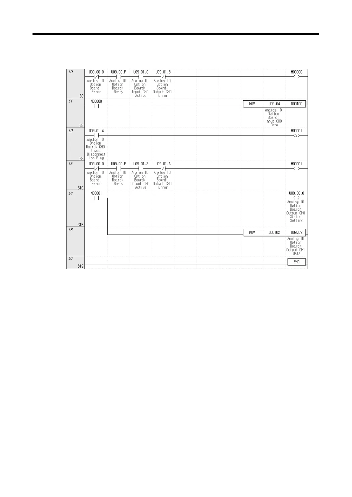
Chapter 10 Analog I/O Option Board (XBO-AH02A)
(d) In the ‘View' menu, click ‘View Device/Comment to look up the devices and descriptions at
the same time.
10 - 29

Table of Contents

Related product manuals