EasyManua.ls Logo

Masimo SET Rainbow SET Rad-57 - Masimo Rainbow SET Parallel Engines; Masimo SET DST

Masimo SET Rainbow SET Rad-57
73 pages
Print Icon
To Next Page IconTo Next Page
To Next Page IconTo Next Page
To Previous Page IconTo Previous Page
To Previous Page IconTo Previous Page
Loading...
1-10
Rad-57 Signal Extraction Pulse CO-Oximeter Operator’s Manual
1
Overview
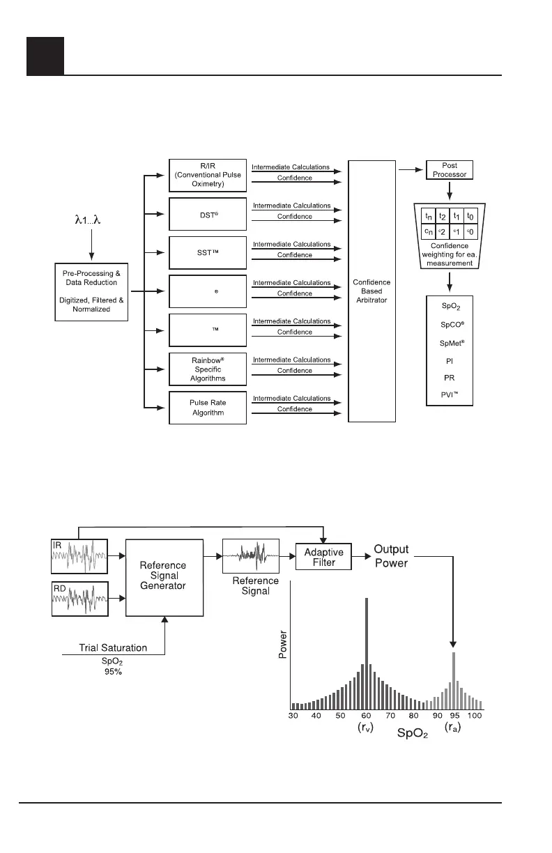
Masimo Rainbow SET Parallel Engines
This figure is for conceptual purposes only.
Masimo SET DST
®
12
FST
MST

Table of Contents

Related product manuals