EasyManua.ls Logo

Midtronics GR8-1200 OEM - Display and Keypad

Midtronics GR8-1200 OEM
54 pages
Print Icon
To Next Page IconTo Next Page
To Next Page IconTo Next Page
To Previous Page IconTo Previous Page
To Previous Page IconTo Previous Page
Loading...
GR8-1200 OEM
Midtronics Inc. 7000 Monroe Street Willowbrook, IL 60527
www.midtronics.com
14
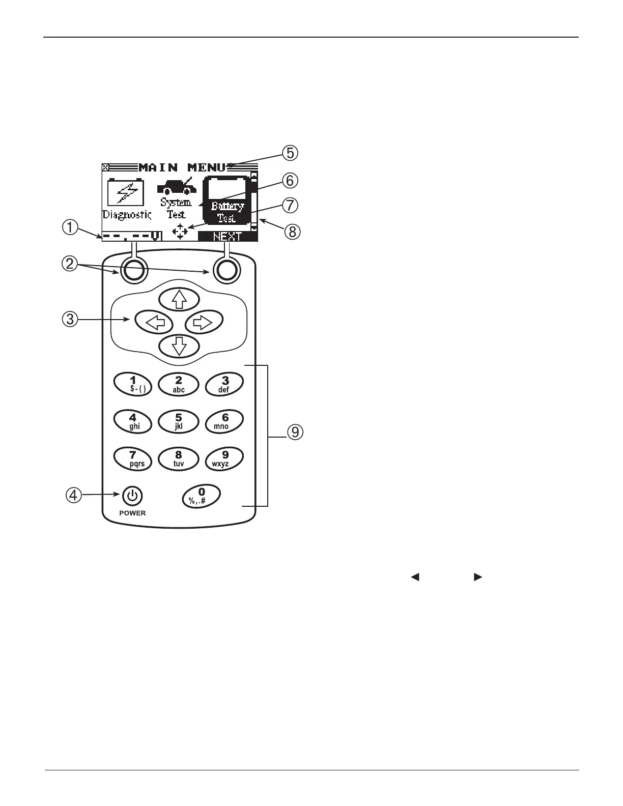
Display and Keypad
The GR8 display and keypad work together to help you
quickly  nd and use the right tools at the right time. The
displa
y also keeps you on track with onscreen navigation
aids, directions and messages. The illustration shows how the
elements on the screen relate to the keypad.
n
Voltmeter
When you first connect the GR8 to a battery it
functions as a voltmeter. The voltage reading appears
above the left soft key until you move to other menus
or functions.
o
Soft Keys
Press the two soft keys linked to the bottom of the
screen to perform the functions displayed above
them. The functions change depending on the menu
or test process. So it may be helpful to think of the
words appearing above them as part of the keys.
p
ARROW keys
Press the ARROW keys to scroll to numerical values
and move to menus and icons
q
POWER Key
Press the POWER key to turn the control module ON
and OFF
r
Title Bar
The title bar shows you the name of the current menu,
test tool, utility, or function.
s
Selection Area
The selection area below the Title Bar contains
selectable items or dialog boxes that display
information or require a response.
t
Menu Screen Arrows
When displayed in menu screens, the menu screen
arrows show you which ARROW key on the keypad
to press to display other icons or screens. The Up and
Down Menu Screen Arrows, for example, indicate
when to press the UP or DOWN ARROW keys to display
the screens above and below the current screen.
T
he Left and Right Menu Screen Arrows tell you when
to use the LEFT
( )
or RIGHT
( )
ARROW keys to
select an icon.
When displayed under a list of options, the menu
screen arrows show you which keypad arrow to press
to highlight a character or item in a list.
Chapter 2: Overview

Table of Contents

Related product manuals