EasyManua.ls Logo

Mitsubishi LE-30CTN - Page 26

Mitsubishi LE-30CTN
64 pages
To Next Page IconTo Next Page
To Next Page IconTo Next Page
To Previous Page IconTo Previous Page
To Previous Page IconTo Previous Page
Loading...
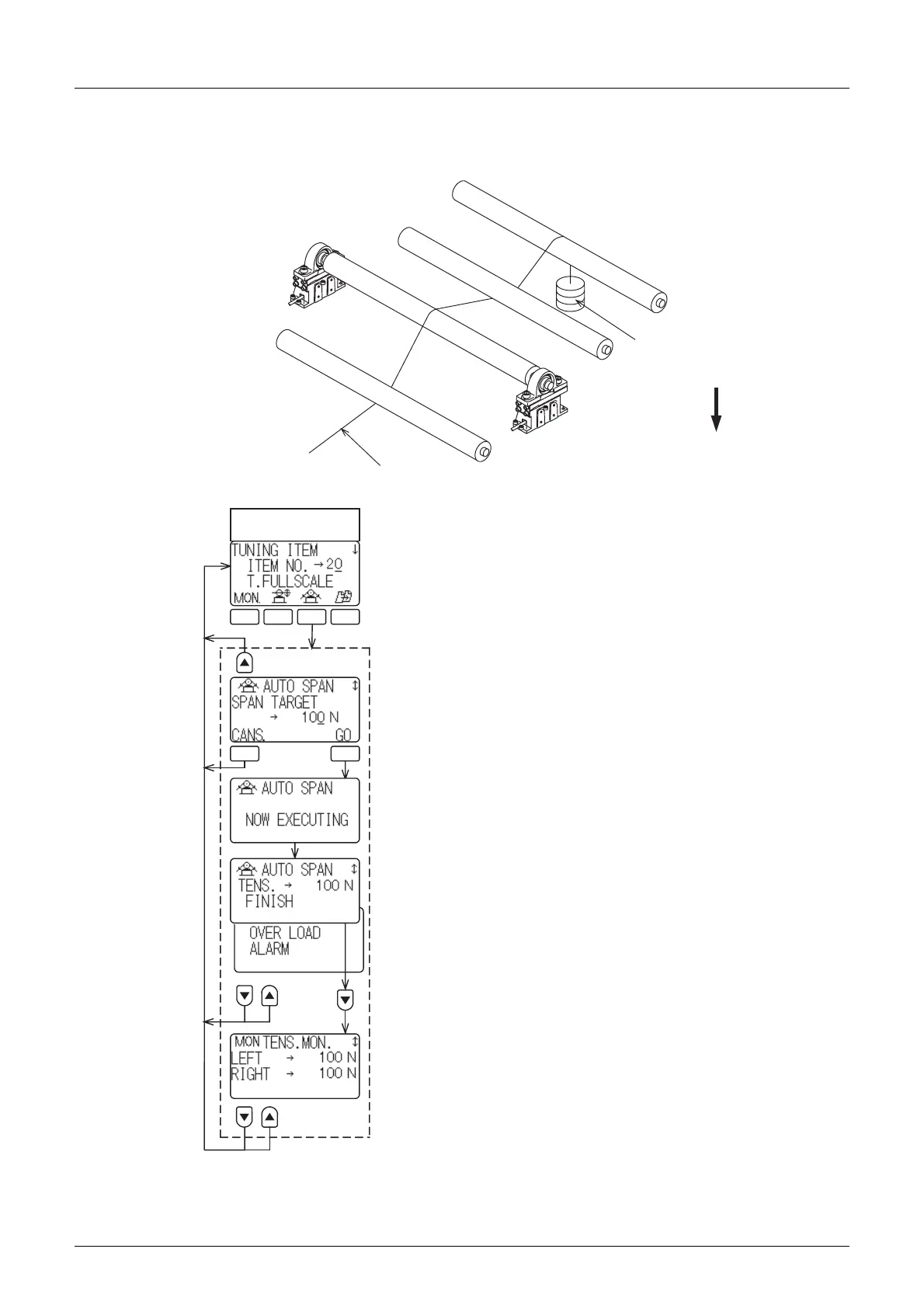
4.3 Adjustment of tension detector
4. Adjustment and Initial Setting
24
2) Span adjustment for tension detector
The material tension (load detected by the tension detector) depends on the installation direction of
the detector or the material-threading angle. To correctly detect the material tension, correct the
span.
[1] Press the [F3] function key to move to the auto span adjustment
screen.
[2] Hang known weight W (N) from the detector roller. Apply a static
load close to the full-scale tension value. (The static load should be
in the range of 1/3 to 100% full-scale tension, and the full-scale
tension should be in the range of 20 to 80% of the rated load of the
tension detector.)
[3] Enter a numeric value equivalent to load W (N), and then press the
[GO] key.
(ex) If the weight hung from the roller is 10 kg, enter 98 (N)
- - - - - - - - -10 kg × 9.8 m/s
2
(gravitational acceleration).
If the applied weight is changed during adjustment, further
modification may not be possible, or an error may be caused.
[4] The message "NOW EXECUTING" will be displayed for
approximately 2 seconds.
[5] The message "FINISH" or an error message will appear. If an error
message appears, check the problem while referring to pages 46,
48.
Thread a string through the roller centers.
Hang known weight.
Load W (N)
(= Mass kg ×9.8 m/s
2
)
Target tension of span tuning
F1 F4
Auto span tuning
screen
F1 F2 F3 F4
Adjustment/setting
item selection screen

Table of Contents

Related product manuals