EasyManua.ls Logo

Mitsubishi QCPU (Q Mode) - Page 214

Mitsubishi QCPU (Q Mode)
456 pages
Print Icon
To Next Page IconTo Next Page
To Next Page IconTo Next Page
To Previous Page IconTo Previous Page
To Previous Page IconTo Previous Page
Loading...
7 - 78 7 - 78
MELSEC-Q
7 FUNCTION
(2) Method to turn off the LED
The LED that is on can be turned off by the following operation. (Except for the
reset operation.)
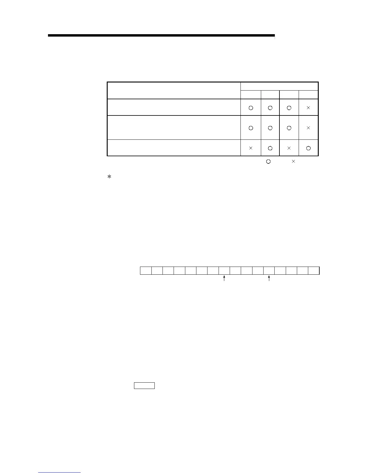
Applicable LED
Method to Turn LED Off
ERR. USER BAT. BOOT
Executing the LEDR instruction after resolving the cause of
error.
After the cause of error is resolved, cancel the error by
operating the special relay SM50 and special register SD50.
(Only for the operation continue errors.)
Turn off the LED by operating the special relay SM202 and
special register SD202.
: Valid : Invalid
1: Special relay and special register contents
SM50 ................. When switch from OFF to ON, the error is canceled for the error
code stored in the SD50.
SD50.................. The error code for the error to be canceled is stored.
(For further information on error codes, see the High Performance
model QCPU (Q Mode) Users Manual (Hardware Design,
Maintenance and Inspection)
SM202 ............... When turned from OFF to ON, the LED corresponding to each bit in
the SD202 is turned off.
SD202................ This specifies the LED to turn off. (Only USER LED and BOOT LED
can be turned off.)
15 bit
SD202
0 bit
84
1/0
1/0
BOOT LED USER LED
1 means "turn off" and 0 means "leave on" in the setting.
The setting to turn off each LED is as follows. (All in hexadecimal.)
• When turning off both LEDs: SD202=110
H
• When turning off only the BOOT LED: SD202=100
H
• When turning off only the USER LED: SD202=10
H
(3) Method to not display the ERR. LED, USER LED, and BAT. LED
The ERR. LED, USER LED, and BAT. LED have the same priorities explained in
Section 7.19.2.
When an error number for an LED is deleted from this priority, the LED will not
turn on even if an error with that error number occurs.
(See POINT
in Section 7.19.2 for the setting method.)

Table of Contents

Related product manuals