EasyManua.ls Logo

Moeller MI4 - Replacing the battery

Moeller MI4
81 pages
Print Icon
To Next Page IconTo Next Page
To Next Page IconTo Next Page
To Previous Page IconTo Previous Page
To Previous Page IconTo Previous Page
Loading...
Installation
28
12/03 AWB-C27-1293GB
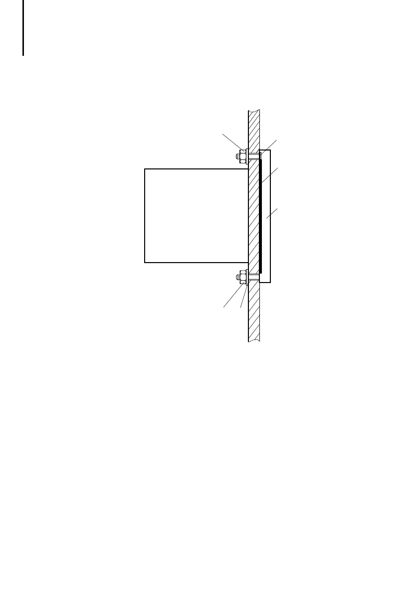
Devices without clamping bracket are mounted with
a frame and four screws.
Frame
Gaskets
Washers
Nuts
Gasket
The drilling dimensions are listed in the table on
page 52.

Table of Contents

Other manuals for Moeller MI4

Related product manuals