EasyManua.ls Logo

Nidec NE200 - Appendix C: Adapted Encoder Instruction

Nidec NE200
244 pages
Print Icon
To Next Page IconTo Next Page
To Next Page IconTo Next Page
To Previous Page IconTo Previous Page
To Previous Page IconTo Previous Page
Loading...
NE200/300 Series Drive User Manual
214 Appendix B: Adapted Encoder Instruction
Appendix C: Adapted encoder instruction
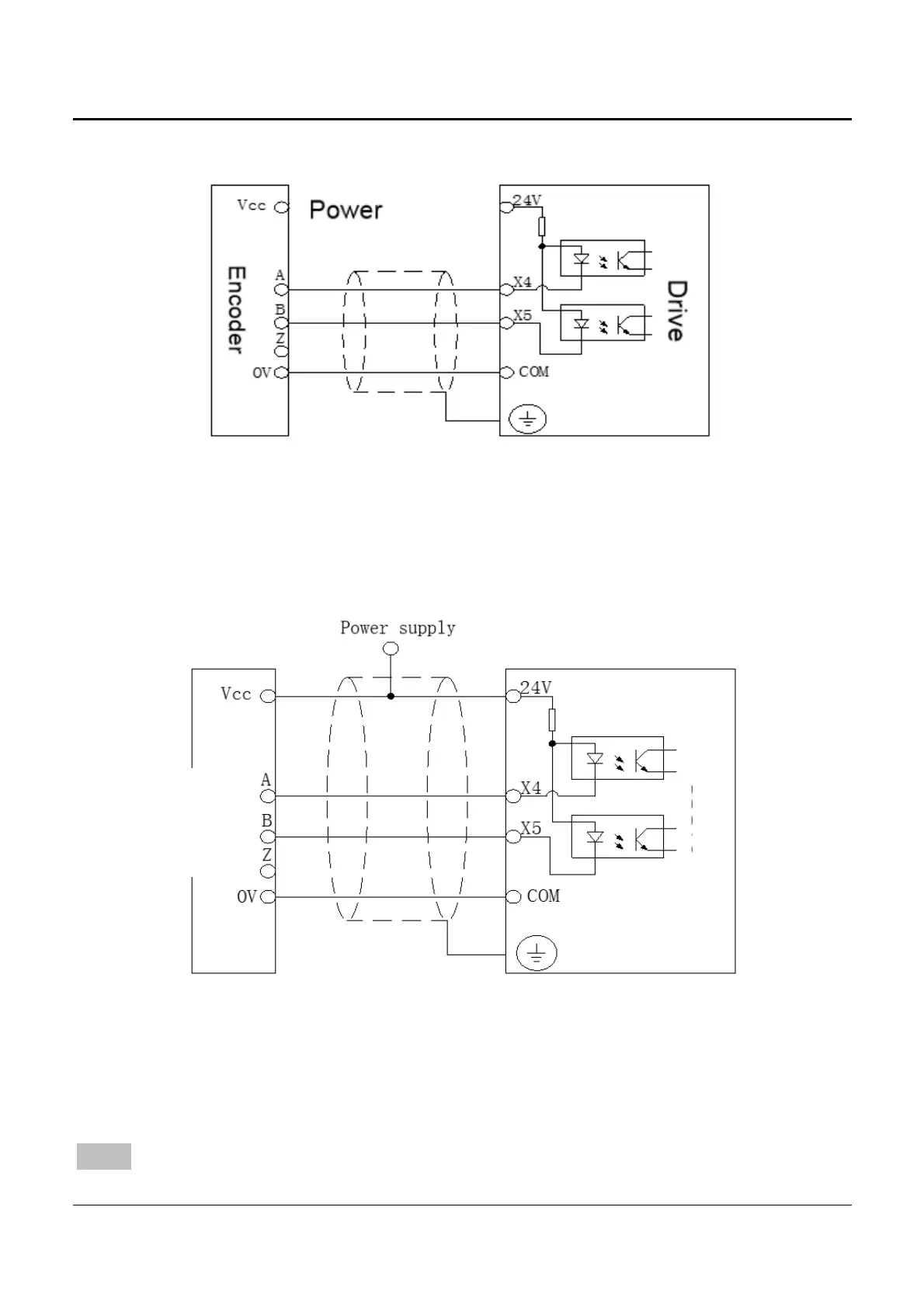
Fig B-1
Fig B-1 is the wiring method of the collector of encoder. The encoder power
supply may be the 24V of drive while the encoder Vcc is 24V, may use the
5~24V power supply while using the external encoder.
Fig. B-2
Fig. B-2 is the encoder wiring method in Push-pull output or voltage
output modes. The encoder power supply Vcc is 24V and drive’s 24V is
recommended.
Note:

Table of Contents

Related product manuals