EasyManua.ls Logo

NPK GH1 - Body Bore Repair by Grinding and Polishing

Default Icon
121 pages
Print Icon
To Next Page IconTo Next Page
To Next Page IconTo Next Page
To Previous Page IconTo Previous Page
To Previous Page IconTo Previous Page
Loading...
- 54 -
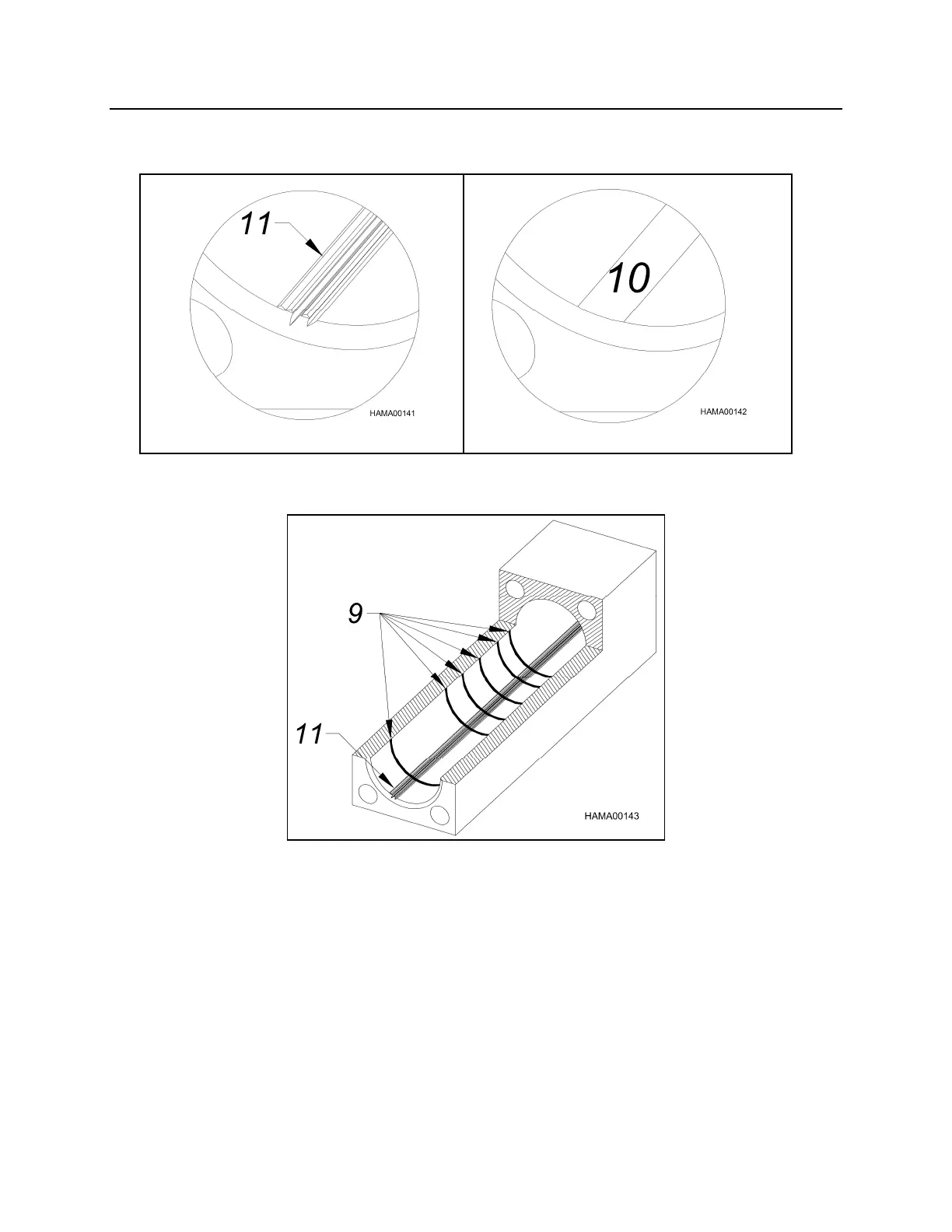
MAIN BODY BORE REPAIR
REPAIR OF BODY BORE BY GRINDING AND POLISHING
(10) POLISHED AREA
IDENTIFY O-RING AREAS (9)
The areas (9) of the bore that are sealed by o-rings can be located by the
discoloration. To prevent oil and/or gas leakage, special care must be taken to
obtain a smooth finish with no pinholes, undercut, or uneven finish in the o-ring
areas. If you are unsure of where the o-ring areas are located, measure these areas
on the outside of the sleeves and mark in the body using a permanent marker to
show o-ring areas.
If a deep score (11) or scratch (deeper than .006 inch (.15 mm), that cannot be
repaired by grinding is found in the body bore, repair this by welding, see
Repairing Body Bore By Welding and Polishing.

Table of Contents

Other manuals for NPK GH1

Related product manuals