EasyManua.ls Logo

Nu-Vu SUB-123 - Operating Instructions; Proofer:; For the Standard Manual Fill Proofer

Nu-Vu SUB-123
66 pages
Print Icon
To Next Page IconTo Next Page
To Next Page IconTo Next Page
To Previous Page IconTo Previous Page
To Previous Page IconTo Previous Page
Loading...
SUB–123 OWNER'S MANUAL OPERATING INSTRUCTIONS
OPERATING INSTRUCTIONS
PROOFER:
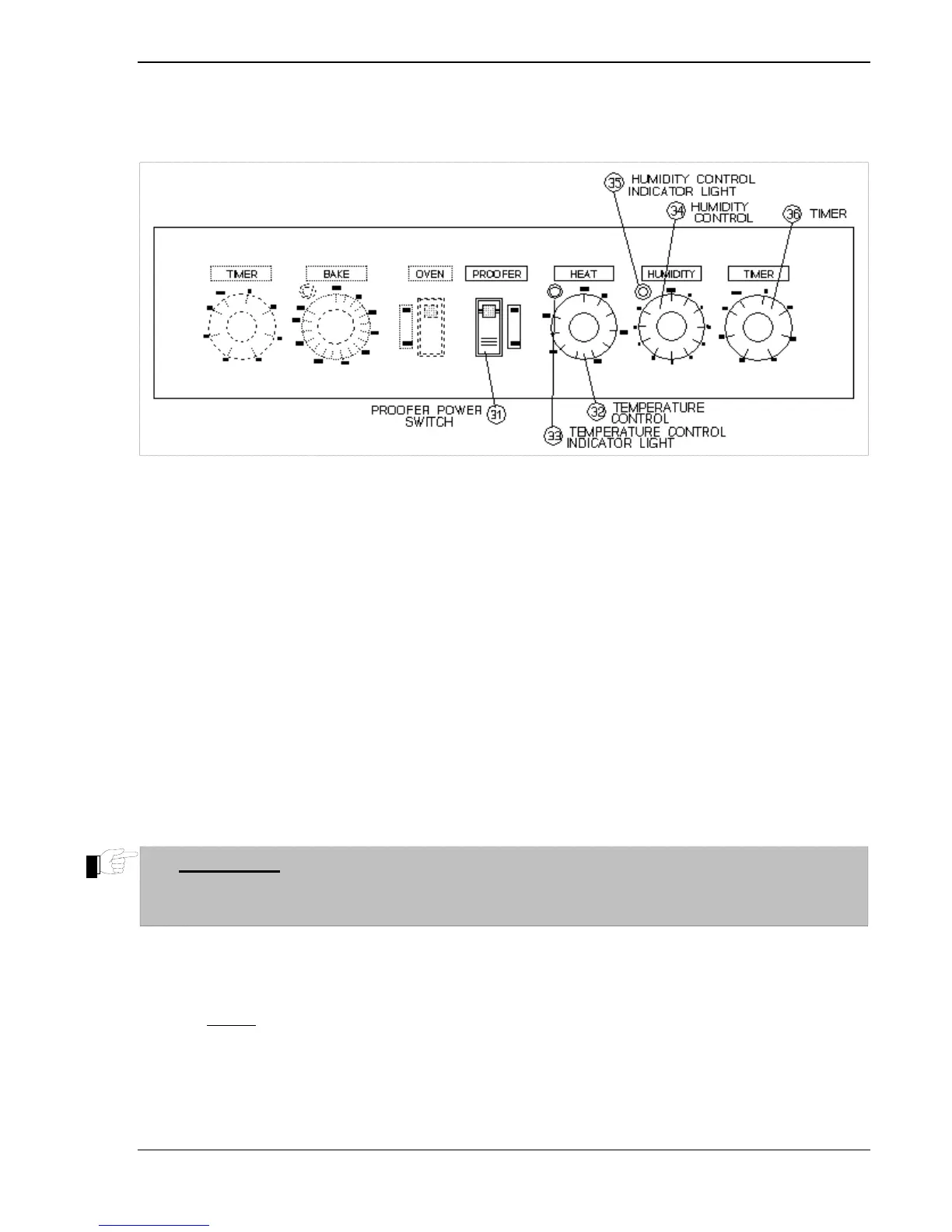
Fi
g
. #4
Manual Fill Proofer Control
s
For the Standard Manual Fill Proofer - -
Begin to pre-heat the Proofer section of the SUB-123 about 20 to 30 minutes before its scheduled use.
A. Set out the desired product for thawing. Be sure to allow sufficient time in your
schedule for both the product and your equipment to reach the correct conditions.
B. Prepare the Proofer:
1. Set the Proofer Power Switch [31] to
ON
.
2. Set the Proofer Temperature Control [32] to the required setting (refer to the
GENERAL
SETTINGS
on page 18). Begin preheating the Proofer at least 20 minutes prior to its
scheduled use.
3. Set the Proofer Humidity Control [34] to the required setting (refer to the
GENERAL
SETTINGS
on page 18). Manual fill units require time to heat the water and raise the internal
humidity level; these units must be started at least 20 minutes before use.
4. Make sure the Water Pan [64] contains no less than 1" of water. The water level should be
checked every time you load the Proofer, and at least every other hour during operations. Use
warm water whenever you refill the pan.
5. The Proofer is ready for use when the Temperature and Humidity Indicator Lights go out and
a light to moderate fogging appears on the Proofer Door [42].
IMPORTANT: ALWAYS REDUCE THE HUMIDITY SETTING TO A MINIMAL LEVEL
WHEN OPERATING THE PROOFER FOR EXTENDED PERIODS WITHOUT ANY
PRODUCT INSIDE!
C. Load the product. The pans should be pushed all the way back and centered from side to side as
much as possible on each Proofer Shelf to allow for proper air circulation over and around your
product. If you are loading a single pan, center it on the Shelf from side to side and front to back.
NOTE:
The Indicator Lights will turn on and off as the Temperature and Humidity Controls
regulate the conditions in the Proofer. This is normal and may happen several times during a
proofing cycle.
NU-VU
®
FOOD SERVICE SYSTEMS MENOMINEE MICHIGAN 49858-0035
(800) 338-9886 Sales Fax (906) 863-5889 Service Fax (906) 863-6322 page
13

Table of Contents

Related product manuals