EasyManua.ls Logo

Oceanic Pro Plus - FO2 Set for an Air Dive

Oceanic Pro Plus
100 pages
Print Icon
To Next Page IconTo Next Page
To Next Page IconTo Next Page
To Previous Page IconTo Previous Page
To Previous Page IconTo Previous Page
Loading...
33
Datamax Pro Plus
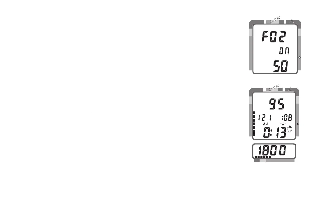
FO2 50% Default
If the Default is set to 'On' and FO2 is set to a value 'greater than 21%', the
FO2 value will automatically revert to 50% 10 minutes after that dive.
• FO2 must be reset for each repetitive nitrox dive, or the value will auto-
matically 'default' to 50 (Fig. 30) and the dives will be calculated based on
50% O2 for oxygen calculations and 21% O2 (79% nitrogen) for nitrogen
calculations.
• If you surface for greater than 10 minutes during a dive, a subsequent
descent will be considered a new dive and the FO2 value must be reen-
tered.
If the Default is set to 'Off', the FO2 value for repetitive dives remains the
same until the FO2 set point is manually changed.
FO2 Set for an Air Dive
When set with an FO2 value of 'Air', the Pro Plus will perform calculations the
same as if FO2 were set for 21% oxygen, internally accounting for oxygen load-
ing for any subsequent Nitrox dives. However, oxygen related displays, warn-
ings, and the O2 Bar Graph will not appear on the display for that dive (Fig.
31), or subsequent dives, unless FO2 is set for a numerical value (21 to 50%).
Fig. 31 - Dive Mode
(FO2 Set for 'Air')
Fig. 30 - FO2 Default
NO DECO
C Z
DECO
C Z O
2
200 5 10 30 40 50 60
NO DECO
C Z
DECO
C Z O
2
PSI
FT
FT
MAX

Table of Contents

Related product manuals