EasyManua.ls Logo

Oceanic Pro Plus - HIGH OXYGEN ACCUMULATION

Oceanic Pro Plus
100 pages
Print Icon
To Next Page IconTo Next Page
To Next Page IconTo Next Page
To Previous Page IconTo Previous Page
To Previous Page IconTo Previous Page
Loading...
64
®
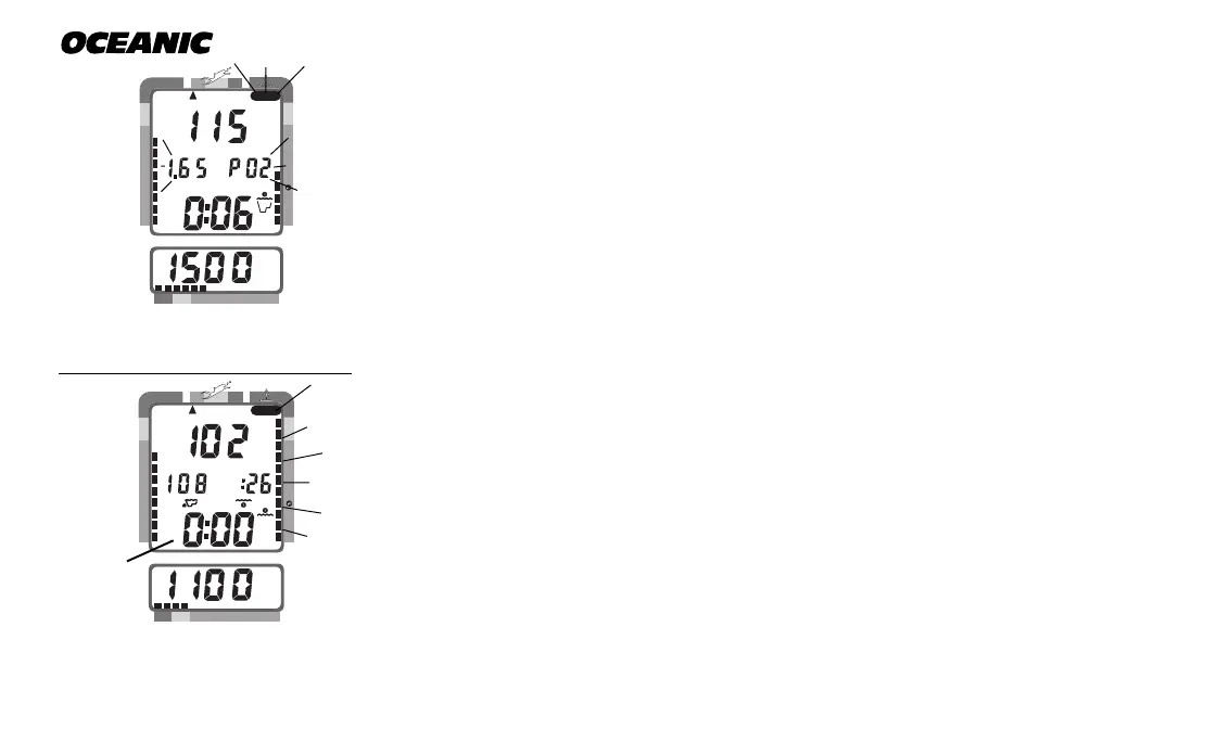
When PO2 reaches a value of 1.60 ATA (Fig. 75), the large red segment of the
O2 bar graph, the PO2 value, and PO2 symbol will flash continuously and the
Audible Alarm will emit one beep per second* as a warning until the level of
PO2 decreases below 1.60 ATA.
*If the audible alarm feature was set to OFF, only a double beep will be
emitted to alert you.
HIGH OXYGEN ACCUMULATION
The O2 bar graph provides you with a convenient graphic representation of
your oxygen accumulation, displaying either oxygen accumulated during that
dive, or during your repetitive dives conducted during that 24 hour period,
whichever of the two is greater at that time.
The yellow Caution Zone of the O2 Bar Graph offers you a convenient way to
consistently monitor how close you are coming to the limits of oxygen toler-
ance. Use it as a visual reference to place a wider margin of protec-
tion between you and the Limits.
If the theoretical amount of oxygen accumulated equals, or exceeds, the per
limit of single exposure , or exposure for the 24 hour period, Oxygen Dive Time
Remaining becomes 0:00 (Fig. 76a). The O2 Bar Graph will enter the red dan-
ger zone and the full bar graph will flash and the Audible Alarm will emit one
Fig. 75 - High PO2
(=/> 1.60 ATA)
Fig. 76 - High O2
200 5 10 30 40 50 60
NO DECO
C Z
DECO
C Z O
2
PSI
FT
200 5 10 30 40 50 60
NO DECO
C Z
DECO
C Z O
2
PSI
FT
FT
MAX
2
O
a

Table of Contents

Related product manuals