EasyManua.ls Logo

Oki B4500 - 3 Paper Size Error

Oki B4500
171 pages
Print Icon
To Next Page IconTo Next Page
To Next Page IconTo Next Page
To Previous Page IconTo Previous Page
To Previous Page IconTo Previous Page
Loading...
43502101TH Rev.1 66 /
Oki Data CONFIDENTIAL
3 Paper size error
Is paper of the specified size being used?
No Use paper of the specified size.
Yes Are inlet sensor plates operating properly (moves freely when they are touched)?
No Replace the inlet sensor plate or clean the inlet sensor on the high voltage/sensor board.
Yes Does the outlet sensor plate operate properly (moves freely when it is touched)?
No Replace the outlet sensor plate or clean the outlet sensor on the high voltage/sensor
board.
Yes Replace the high voltage/sensor board.
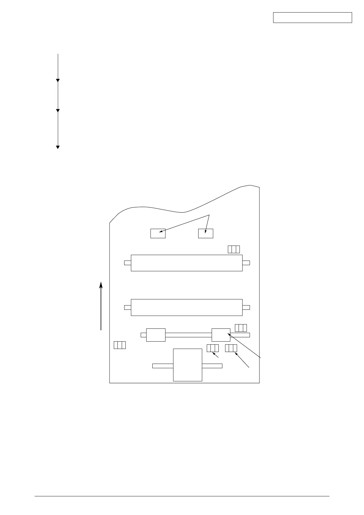
Outlet sensor
Exit roller
Heat roller
Transfer roller
Paper sensor
Registration roller
Inlet sensor
Toner
sensor
Paper end sensor
Hopping
roller
Paper feeding direction

Table of Contents

Related product manuals