EasyManua.ls Logo

Oki B4500 - PCB Layout and Connector Signal List

Oki B4500
171 pages
Print Icon
To Next Page IconTo Next Page
To Next Page IconTo Next Page
To Previous Page IconTo Previous Page
To Previous Page IconTo Previous Page
Loading...
43502101TH Rev.1 79 /
Oki Data CONFIDENTIAL
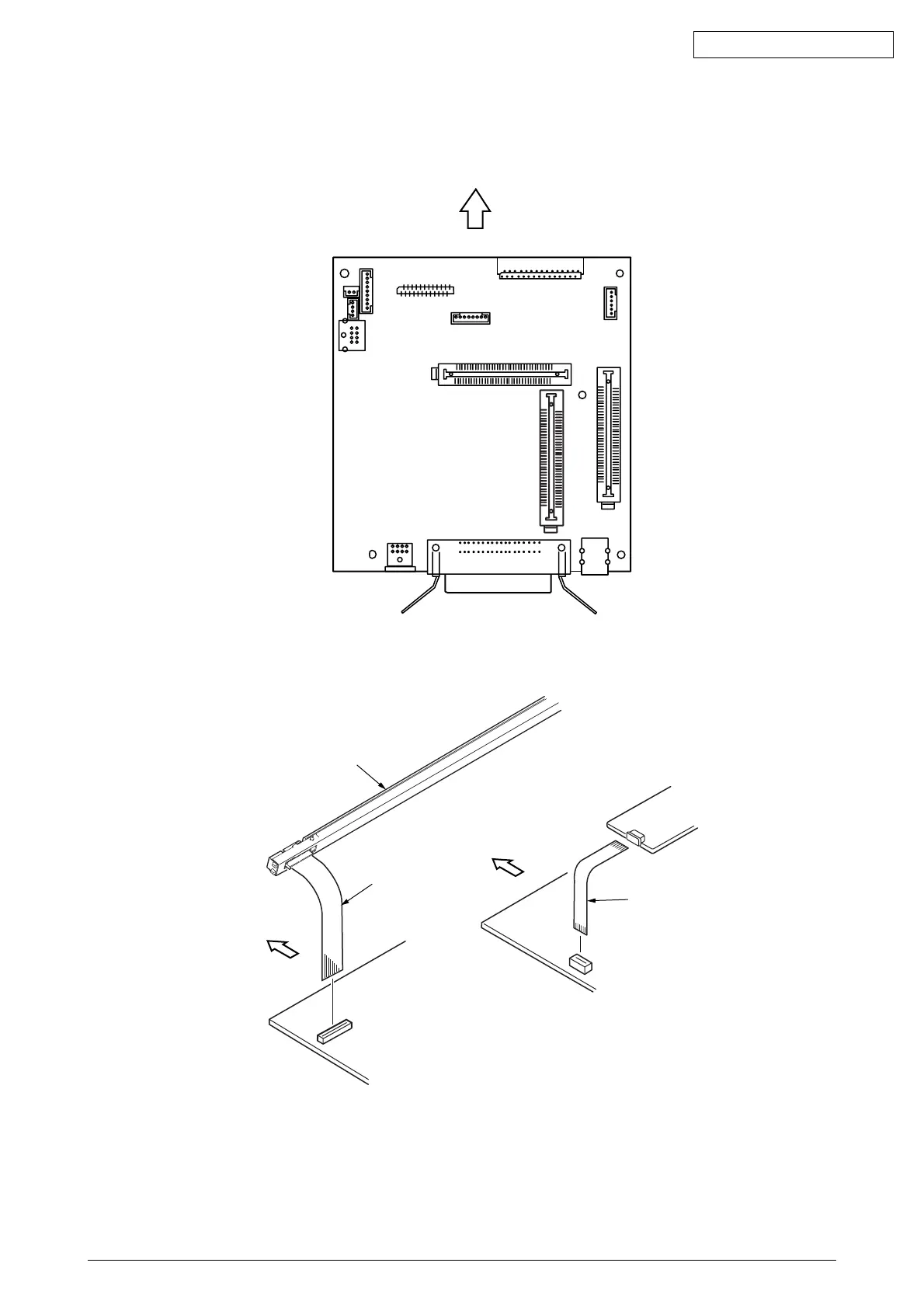
6.2 PCB Layout and Connector Signal List
(1) Main Control Board
LED Head
Printer front side
Printer front side
Contact face
Contact face
1– 24
14 – 1
Operator panel
Printer front side

Table of Contents

Related product manuals