EasyManua.ls Logo

Omron NT31 - Page 96

Omron NT31
707 pages
Print Icon
To Next Page IconTo Next Page
To Next Page IconTo Next Page
To Previous Page IconTo Previous Page
To Previous Page IconTo Previous Page
Loading...
85
Connecting to the RS-232C Port at the Host
Section 4-1
CS1 series CPU type : CS1G/H–CPU
S PC system settings
When connecting to a CS1 series CPU, set the following communication condi-
tions for the PC system setting area, in accordance with the communication port
to be used.
When using the built-in RS-232C port of CS1G/H
Word # Writing Value Settings
160 8200 NT link (1:N) mode
166 000
= The largest model number of the connected
PT
(0 7)
When using the peripheral port of CS1G/H
Word # Writing Value Settings
144 8200 NT link (1:N) mode
146 000
= The largest model number of the connected
PT
(0 7)
When connecting PT with its model number 0, 25 to the built-in RS-232C port, for
example, set the value 8200 Hex to 160 CH, and 0005 Hex to 166CH.
Either set PC system settings directly from a peripheral tool (programming con-
sole), or transmit the PC system settings made at a peripheral tool (CX-Program-
mer) to the CPU.
For details on PC system settings, refer to the “SYSMAC CS1 Series Operation
Manual” (W339-E1-
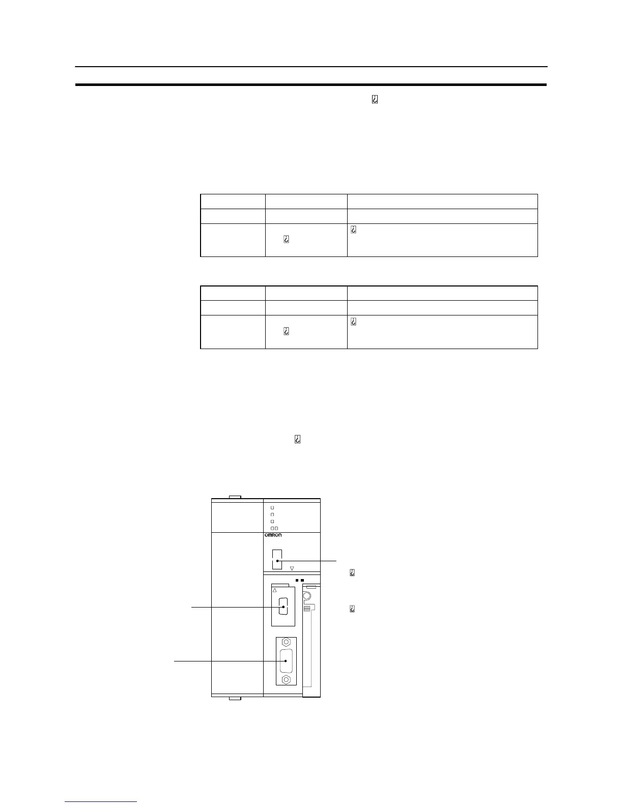
[Setting the front switches]
Set the CPU DIP switch to 4 or 5 in accordance with the port NT31/NT31C is con-
nected to.
Peripheral port
This is used mainly for
connection to the
peripheral tool.
(This also supports the
RS-232C unit connection.)
RS–232 port
This is used mainly for
connection to the
RS-232C unit.
(This also supports the
CX-Programmer.)
DIP switches (inside the battery storage)
Set SW4 to ON (establishing communication in
accordance with PC system settings) when connecting
the NT31/NT31C to a peripheral port.
Set SW5 to OFF (establishing communication in
accordance with PC system settings) when connecting
the NT31/NT31C to a peripheral port.
SYSMAC CS1G
PROGRAMMABLE CONTROLLER
CPU4
2
OPEN
OPEN
PERIPHERAL
PORT
BUSY
RUN
ERR/ALM
INH
PRPHL/COMM
MCPWR

Table of Contents

Other manuals for Omron NT31

Related product manuals