EasyManua.ls Logo

Omron SYSMAC CQM1-ID212 - Cable Preparation (Pulse Output and ABS Interface)

Omron SYSMAC CQM1-ID212
157 pages
Print Icon
To Next Page IconTo Next Page
To Next Page IconTo Next Page
To Previous Page IconTo Previous Page
To Previous Page IconTo Previous Page
Loading...
34
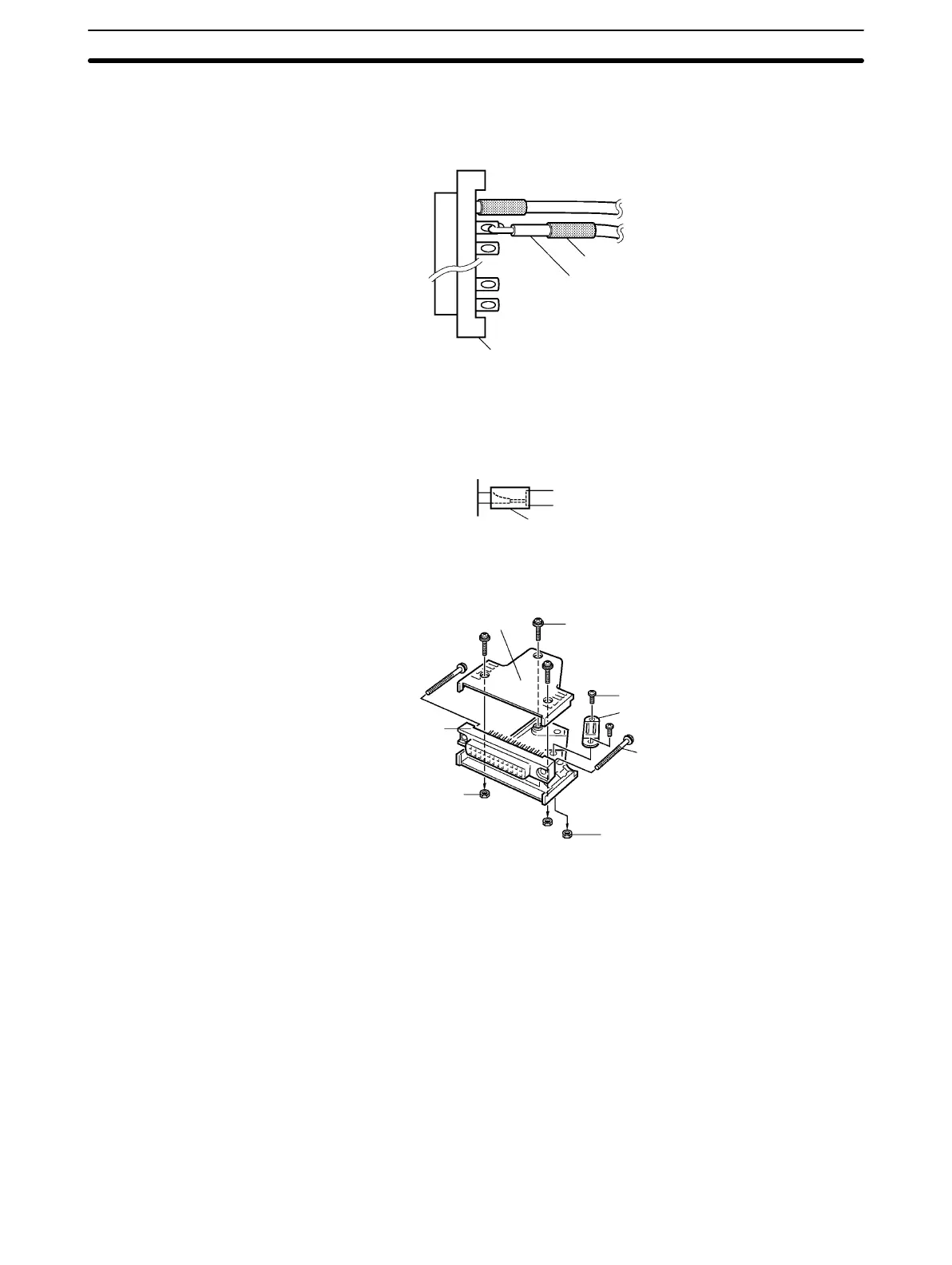
Wiring and Assembly The following illustrations show the procedure for wiring and assembly of solder-
type connectors. First pass the electrical wires through heat-contraction tubes
and solder them to the socket pins.
Heat-contraction tube
Electrical wire
Connector
After soldering all of the necessary pins, slide the heat-contraction tubes over
the soldered areas of the respective wires. Then shrink the tubes by heating
them with a jet of hot air.
Heat-contraction tube
Finally, assemble the socket and connector cover as shown below.
Connector cover
Small screws (3)
Small screws (2)
Socket
Nuts (3)
Nuts (2)
Connector lock screw
Cable clamp
2-5-7 Cable Preparation (Pulse Output and ABS Interface)
Dedicated ports are required for the pulse I/O (CQM1-CPU43-EV1 only) and
ABS interface (CQM1-CPU44-EV1 only) functions. Follow the procedure
explained here to prepare cable for these ports.
Use the following products or equivalents for the connector on the cable side.
Socket: XM2D-1501 (OMRON)
Hood: XM2S-1511 (OMRON)
Cable Use shielded twisted-pair wire for the cable.
Note For details on pin arrangement and the internal circuitry of connectors at the
CQM1 side, refer to the sections on CQM1-CPU43-EV1 and
CQM1-CPU44-EV1 CPU Units in this manual.
Applicable Connectors
(Cable Side)
Wiring and Connections
Section 2-5
Artisan Technology Group - Quality Instrumentation ... Guaranteed | (888) 88-SOURCE | www.artisantg.com

Table of Contents

Related product manuals