EasyManua.ls Logo

Onkyo TX-SR605

Onkyo TX-SR605
100 pages
To Next Page IconTo Next Page
To Next Page IconTo Next Page
To Previous Page IconTo Previous Page
To Previous Page IconTo Previous Page
Loading...
25
Connecting the AV Receiver/AV Amplifier—Continued
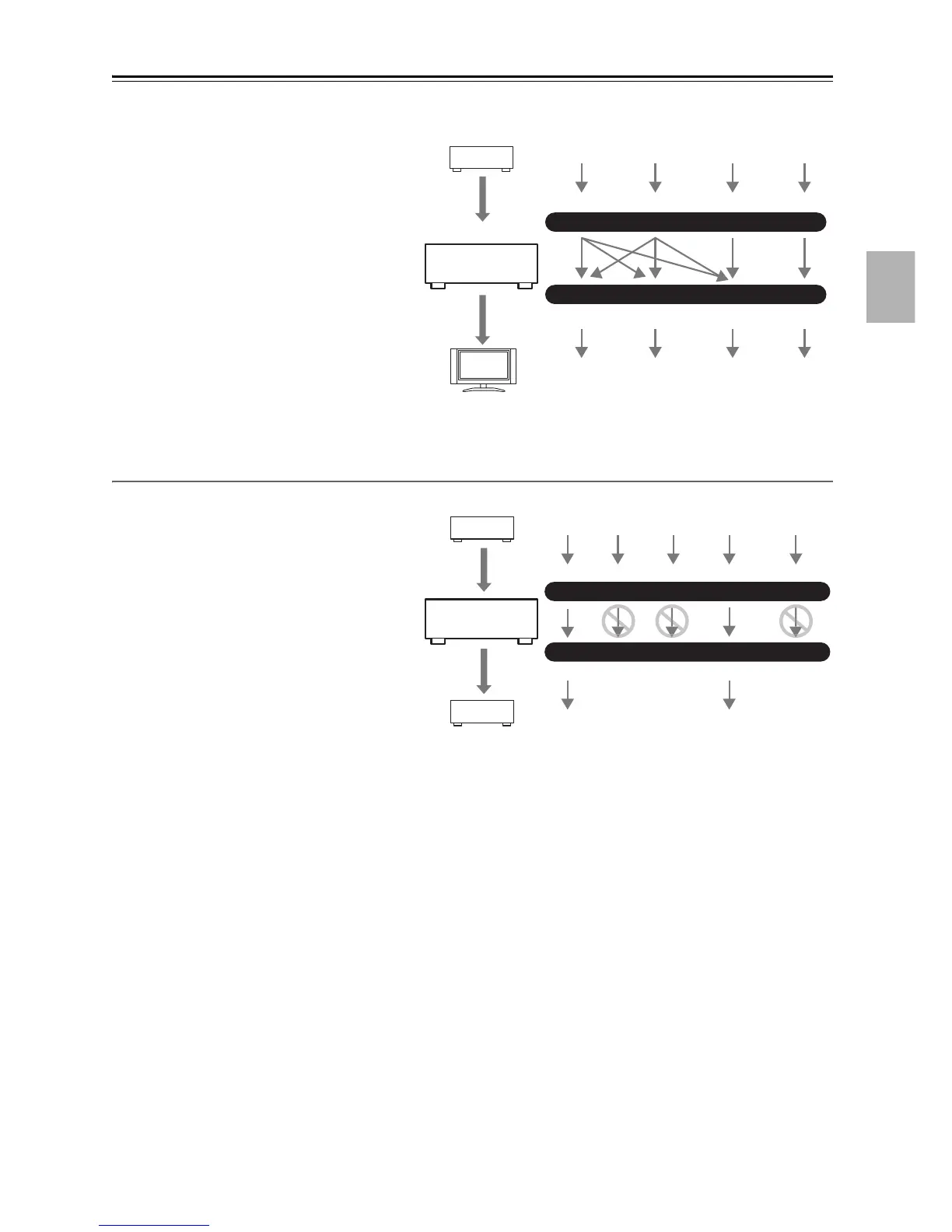
HDMI Monitor Setting Set to No
With the HDMI Monitor setting set to No (see
page 47), video input signals flow through the
AV receiver/AV amplifier as shown, with com-
posite video and S-Video sources being upcon-
verted for the component video output. Use this
setting if you connect the AV receiver/AV ampli-
fier’s COMPONENT VIDEO OUT to your TV.
Composite video is upconverted to S-Video and
S-Video is downconverted to composite video.
Note that these conversions only apply to the
MONITOR OUT V and S outputs, not the
VCR/DVR OUT V and S outputs.
The composite video, S-Video, component
video, and HDMI outputs pass through their
respective input signals as they are.
Audio Connection Formats
Audio equipment can be connected to the AV
receiver/AV amplifier by using any of the follow-
ing audio connection formats: analog, optical,
coaxial, analog multichannel, or HDMI.
When choosing a connection format, bear in
mind that the AV receiver/AV amplifier does not
convert digital input signals for analog line out-
puts and vice versa. For example, audio signals
connected to an optical or coaxial digital input
are not output by the analog TAPE OUT.
IN
MONITOR OUT
DVD player, etc.
AV receiver/
AV amplifier
TV, projector, etc.
Composite
Composite
S-Video
S-Video
Component
Component
Video Signal Flow Chart
HDMI
HDMI
IN
OUT
DVD player, etc.
AV receiver/
AV amplifier
MD recorder, etc.
HDMI Coaxial Analog
Audio Signal Flow Chart
MultichannelOptical
HDMI Analog

Table of Contents

Related product manuals