EasyManua.ls Logo

Panasonic HDC-SD9PC - Page 121

Panasonic HDC-SD9PC
144 pages
Print Icon
To Next Page IconTo Next Page
To Next Page IconTo Next Page
To Previous Page IconTo Previous Page
To Previous Page IconTo Previous Page
Loading...
121
VQT1N45
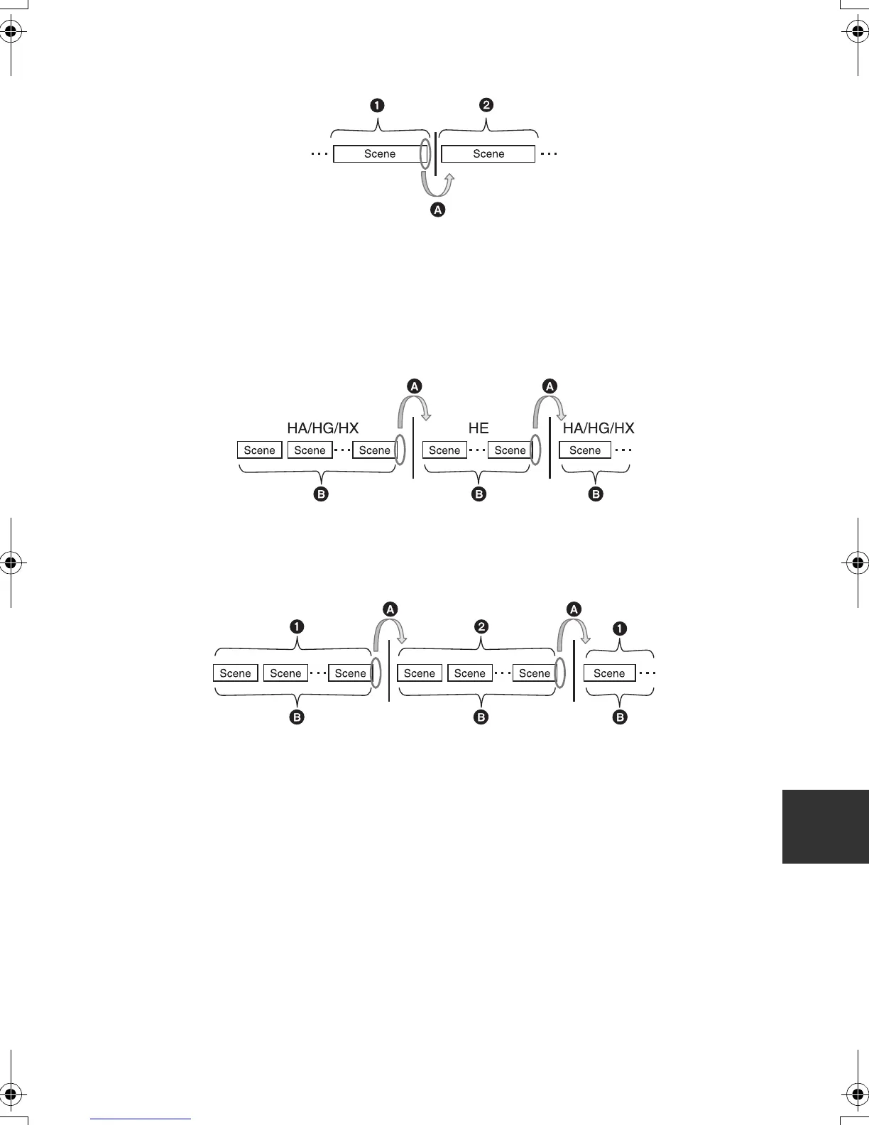
When PRE-REC was used for recording
1 Normal recording
2 PRE-REC recording
A The picture momentarily stops at the end of the last scene that was recorded normally before PRE-
REC recording.
When the recording mode was changed from HA/HG/HX to HE or from HE
to HA/HG/HX
A The picture momentarily stops where the scenes switch between HA/HG/HX and HE modes.
B Playback is smooth if the same mode is used or the mode is switched among HA, HG and HX.
When the settings on the 24p digital cinema change
1 [24pDIGITAL CINEMA] is [ON].
2 [24pDIGITAL CINEMA] is [OFF].
A When recording motion pictures after changing settings on the 24p digital cinema, the motion
pictures at the switching points of scenes stop for several seconds.
B Scenes with the same settings can be played back smoothly at the switching points.
HDCSD9P-VQT1N45_ENG.book 121 ージ 2007年12月26日 水曜日 午後5時57分

Table of Contents

Related product manuals