EasyManua.ls Logo

Panasonic HDC-SD9PC - Picture Quality; Number of Recordable Pictures

Panasonic HDC-SD9PC
144 pages
Print Icon
To Next Page IconTo Next Page
To Next Page IconTo Next Page
To Previous Page IconTo Previous Page
To Previous Page IconTo Previous Page
Loading...
43
VQT1N45
Selecting the picture quality.
Select the menu. (l 27)
: Still pictures with a high picture quality
are recorded.
: Priority is given to the number of still
pictures recorded. Still pictures are
recorded in normal picture quality.
If the [PICT.QUALITY] is set to [ ], mosaic-
pattern noise may appear on a playback image
depending on the picture content.
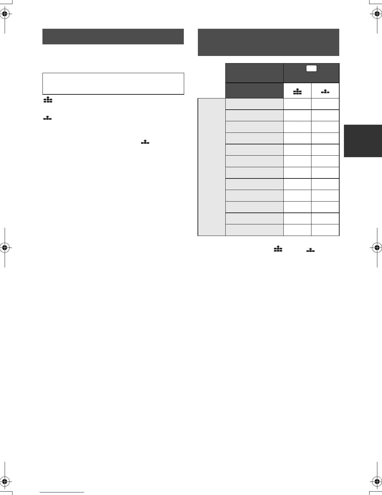
The number of recordable pictures
depends on whether [ ] and [ ] are
used together and on the subject being
recorded.
The numbers shown in the table are
approximations.
Picture quality
[PICTURE] # [PICT.QUALITY] # desired
setting
Number of recordable
pictures
Picture size
(1920t1080)
Picture quality
SD
card
8MB 46
16 MB 10 17
32 MB 20 32
64 MB 47 74
128 MB 94 150
256 MB 200 320
512 MB 410 640
1GB 820 1290
2GB 1670 2630
4GB 3290 5160
8GB 6690 10520
16 GB 13470 21170
2.1
HDCSD9P-VQT1N45_ENG.book 43 ージ 007年12月26日 水曜日 午後5時57分

Table of Contents

Related product manuals