EasyManua.ls Logo

Panasonic JU-253-T - Exploded View

Panasonic JU-253-T
48 pages
Print Icon
To Next Page IconTo Next Page
To Next Page IconTo Next Page
To Previous Page IconTo Previous Page
To Previous Page IconTo Previous Page
Loading...
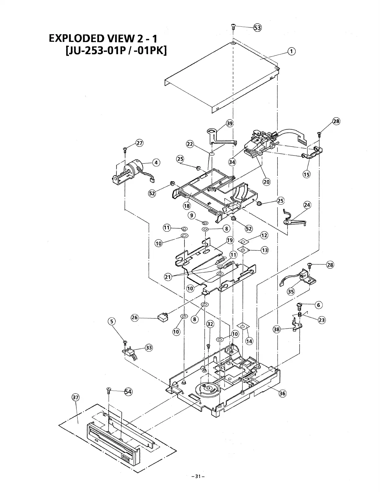
EXPLODED
VIEW
2
[JU-253-01 p / -0.j
~K]
-31-
28

Table of Contents