EasyManua.ls Logo

Panasonic TH-50PC77U - No Power

Panasonic TH-50PC77U
112 pages
Print Icon
To Next Page IconTo Next Page
To Next Page IconTo Next Page
To Previous Page IconTo Previous Page
To Previous Page IconTo Previous Page
Loading...
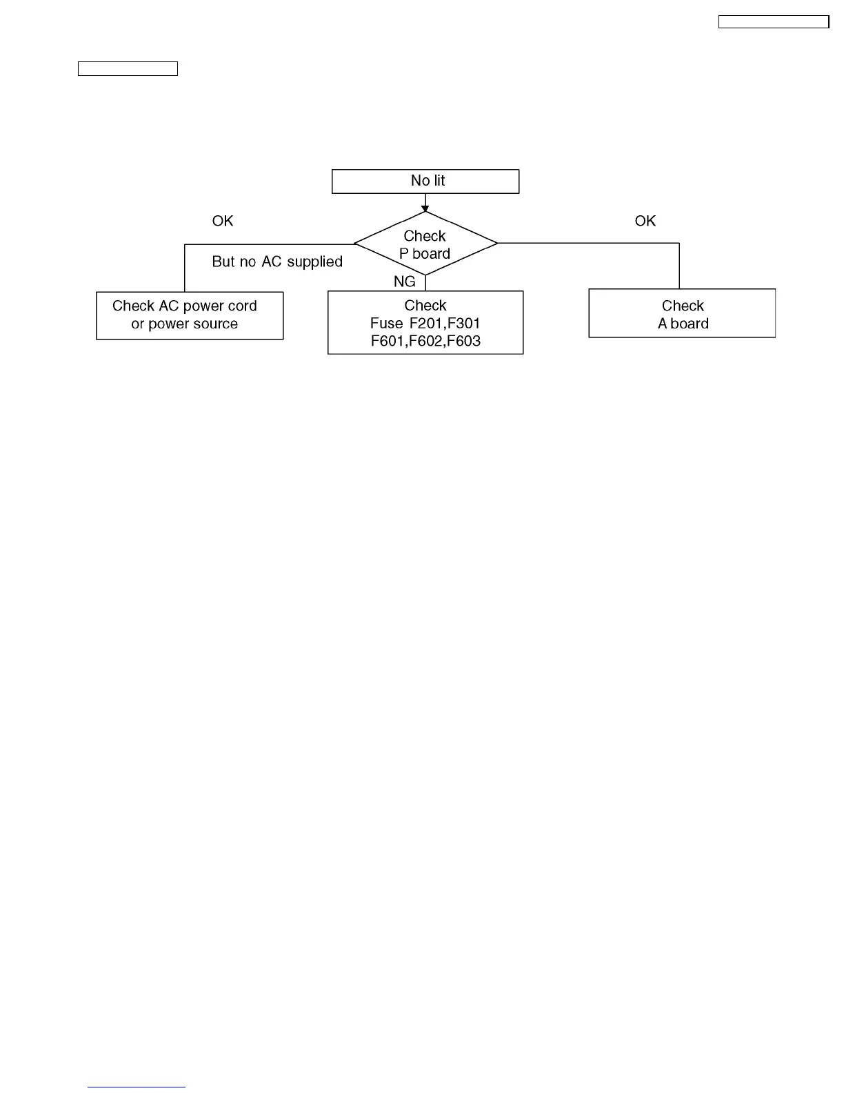
9.3. No Power
First check point
There are following 2 states of No Power indication by power LED.
1. No lit
2. Red is lit then turns red blinking a few seconds later. (See 9.2.)
25
TH-50PX77U / TH-50PE77U

Table of Contents

Related product manuals