EasyManua.ls Logo

Panasonic TH-50PHW7BX - IIC Mode Structure (Following Items Value Is Sample Data.)

Panasonic TH-50PHW7BX
159 pages
Print Icon
To Next Page IconTo Next Page
To Next Page IconTo Next Page
To Previous Page IconTo Previous Page
To Previous Page IconTo Previous Page
Loading...
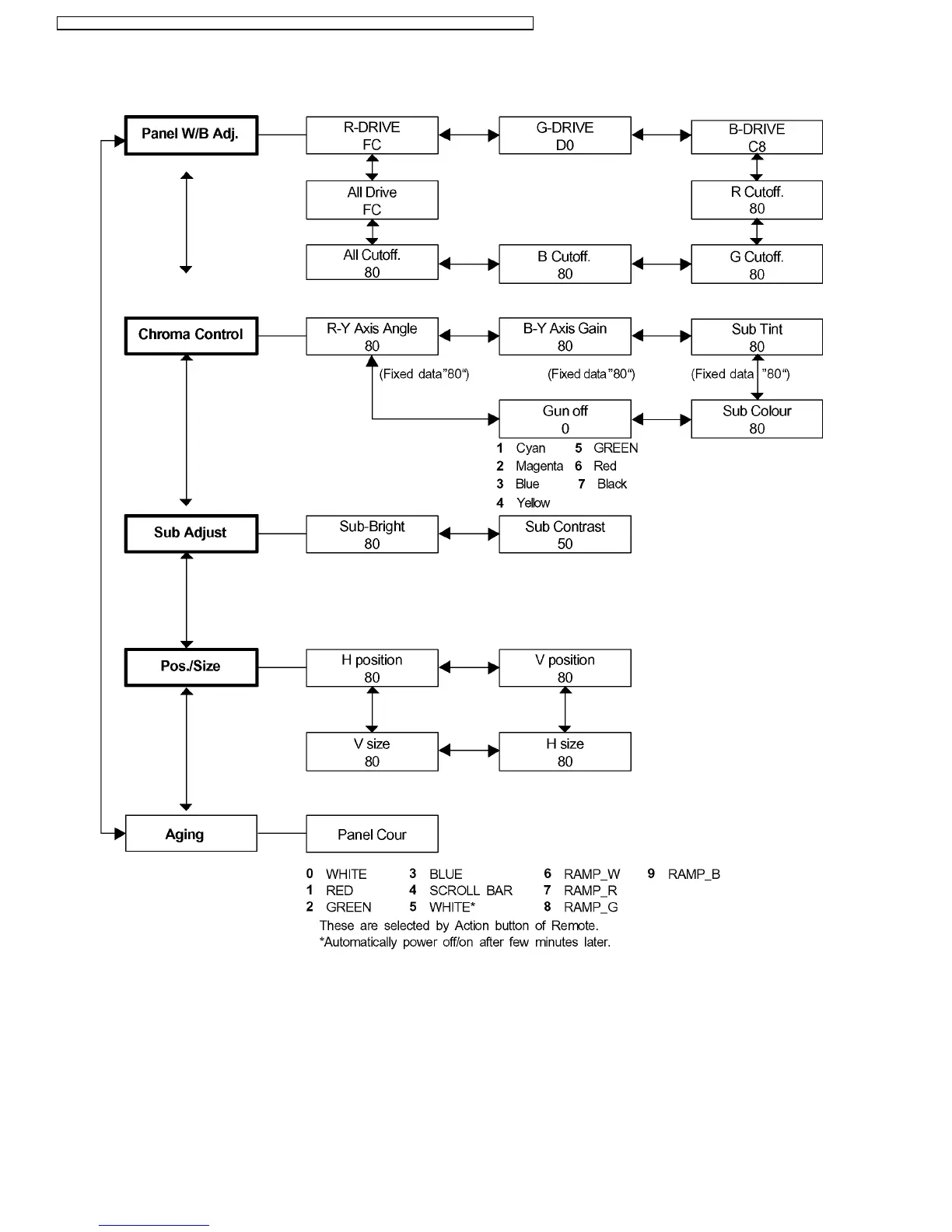
10.2. IIC mode structure (following items value is sample data.)
22
TH-50PHW7BX / TH-50PHW7EX / TH-50PHD7EK / TH-50PHD7ES / TH-50PHD7BK / TH-50PHD7BS / TH-50PHD7UY

Table of Contents

Related product manuals