EasyManua.ls Logo

Panasonic TH-50PHW7BX - Page 29

Panasonic TH-50PHW7BX
159 pages
Print Icon
To Next Page IconTo Next Page
To Next Page IconTo Next Page
To Previous Page IconTo Previous Page
To Previous Page IconTo Previous Page
Loading...
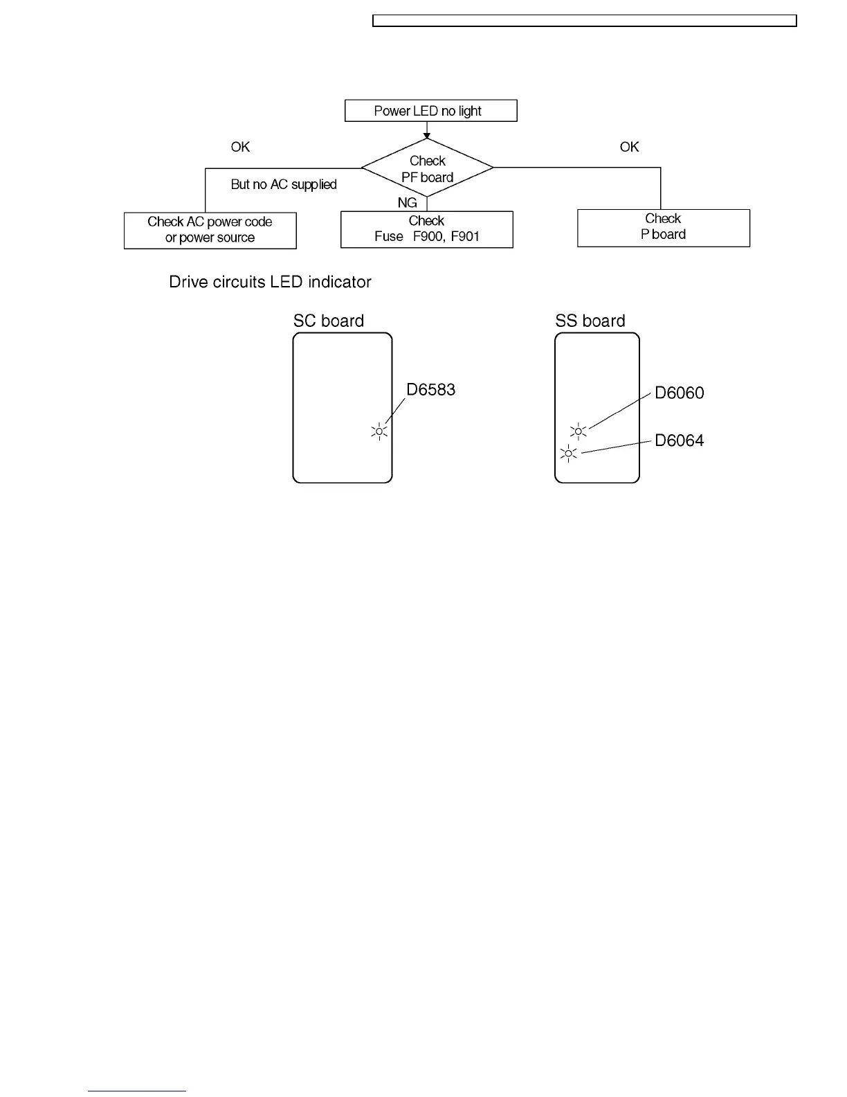
12.2.2. Power LED no light
29
TH-50PHW7BX / TH-50PHW7EX / TH-50PHD7EK / TH-50PHD7ES / TH-50PHD7BK / TH-50PHD7BS / TH-50PHD7UY

Table of Contents

Related product manuals