EasyManua.ls Logo

Panasonic TX-51P950M - Page 41

Panasonic TX-51P950M
102 pages
Print Icon
To Next Page IconTo Next Page
To Next Page IconTo Next Page
To Previous Page IconTo Previous Page
To Previous Page IconTo Previous Page
Loading...
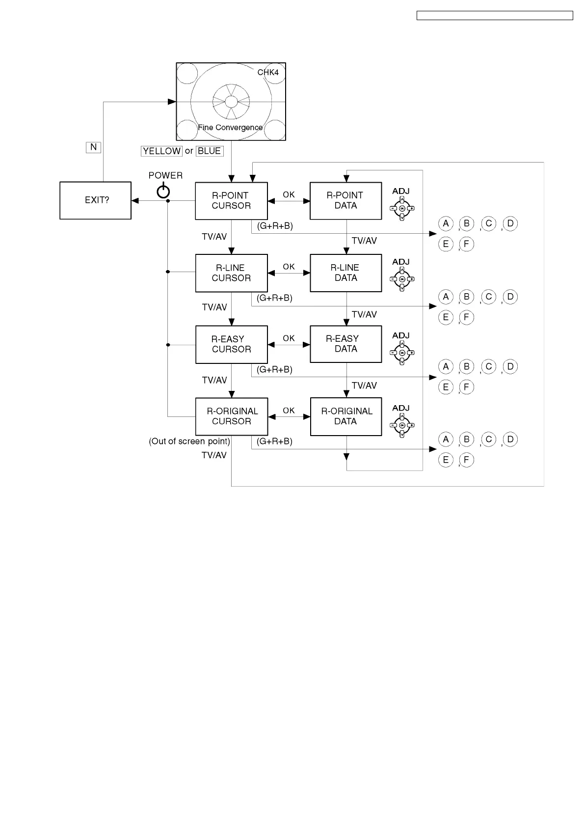
Fine Convergence Control Chart
41
TX-51P950M / TX-51P950X / TX-43P950M / TX-43P950X

Table of Contents

Related product manuals