EasyManua.ls Logo

Panasonic TX-51P950M - Cabinet (Top); Speaker (Top Cabinet); Screen

Panasonic TX-51P950M
102 pages
Print Icon
To Next Page IconTo Next Page
To Next Page IconTo Next Page
To Previous Page IconTo Previous Page
To Previous Page IconTo Previous Page
Loading...
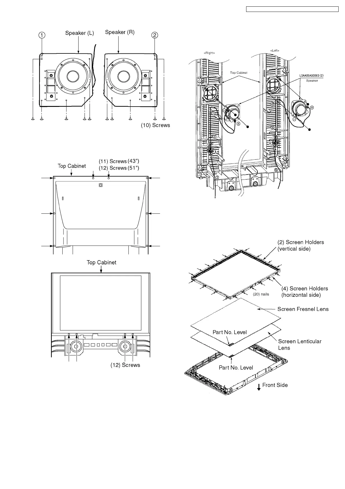
3.5. Cabinet (Top)
1. Remove (12) Screws.
3.6. Speaker (Top Cabinet)
3.7. Screen
1. Remove (20) nails, and remove (2) Screen Holders (vertical
side) and (4) Screen Holders (horizontal side).
9
TX-51P950M / TX-51P950X / TX-43P950M / TX-43P950X

Table of Contents

Related product manuals